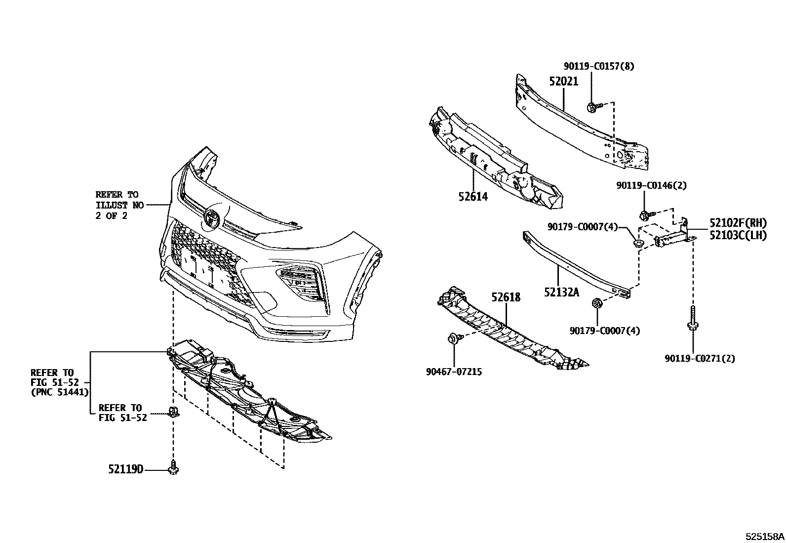
FRONT BUMPER & BUMPER STAY

5152
52021REINFORCEMENT SUB-ASSY, FRONT BUMPER
52102FEXTENSION SUB-ASSY, FRONT BUMPER, RH
52103CEXTENSION SUB-ASSY, FRONT BUMPER, LH
52119DSCREW, NO.1
52132AREINFORCEMENT, FRONT BUMPER, NO.2
52614ABSORBER, FRONT BUMPER ENERGY, NO.2
52618ABSORBER, FRONT BUMPER, LOWER
90119C0146
main90119-C0146
90119C0157
main90119-C0157
90119C0271
main90119-C0271
90179C0007
main90179-C0007
9046707215
main90467-07215
13 parts on this diagram · 2 diagrams in section