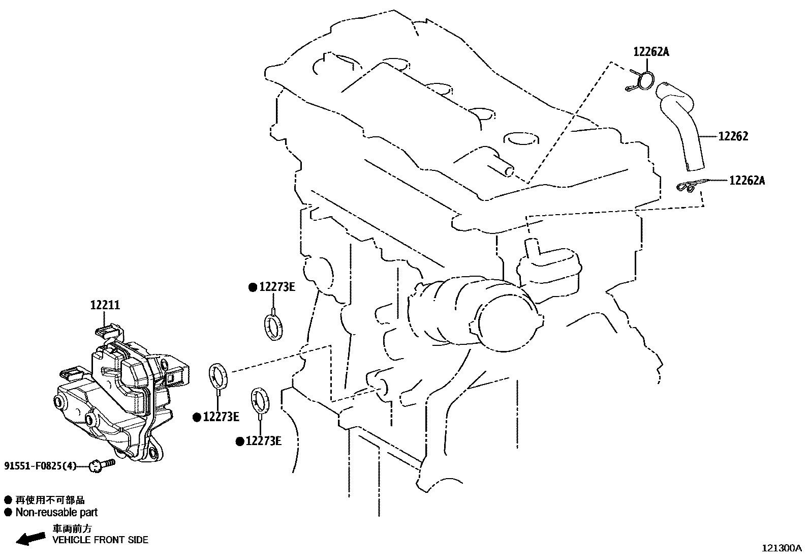
VENTILATION HOSE

12211CASE, VENTILATION, NO.1
main12211-24010iM20AFKS..MXAA52..JPP..CVT;M20AFKS..MXAA52..6F..(EUR,SA);M20AFKS..MXAA52..LHD..6F..GEN;M20AFKS..MXAA54..JPP..CVT..(M,X);M20AFKS..MXAA54..(G,V)..(EUR,GEN,SA);M20AFKS.202008-202208
main12211-24020iM20AFKS..MXAA52..X..(ARL,GCC,GEN);M20AFKS..MXAA52..(G,M)..(ARL,GEN,SA);M20AFKS..MXAA54..JPP..(GCC,GEN,RUS,SA)202210-202310
12262HOSE, VENTILATION, NO.2
main12262-24060iM20AFKS..MXAA52..X..(ARL,GCC,GEN);M20AFKS..MXAA52..(G,M)..(ARL,GEN,SA);M20AFKS..MXAA54..JPP..(GCC,GEN,RUS,SA)202210-202310
main12262-25080iA25AFXS..AXAL5#..ARL;A25AFXS..AXAH5#..RHD..M..GEN;A25AFXS..AXAH5#,AXAL5#..RHD..X..EUR202008-202111
12262ACLIP(FOR VENTILATION HOSE NO.2)
main90467-21004×2iA25#..AXAA5#,AXAL5#..JPP;A25AFXS..AXAH52..LHD..M..EUR;A25AFXS..AXAH52..(G,P,X)..EUR;A25AFXS..AXAH5#..ARL,GCC,GEN,SA;A25AFXS..AXAH54..LHD..(G,M,P,V)..EUR202310
12273EGASKET(FOR VENTILATION CASE)
91551F0825
main91551-F0825
5 parts on this diagram · 3 diagrams in section