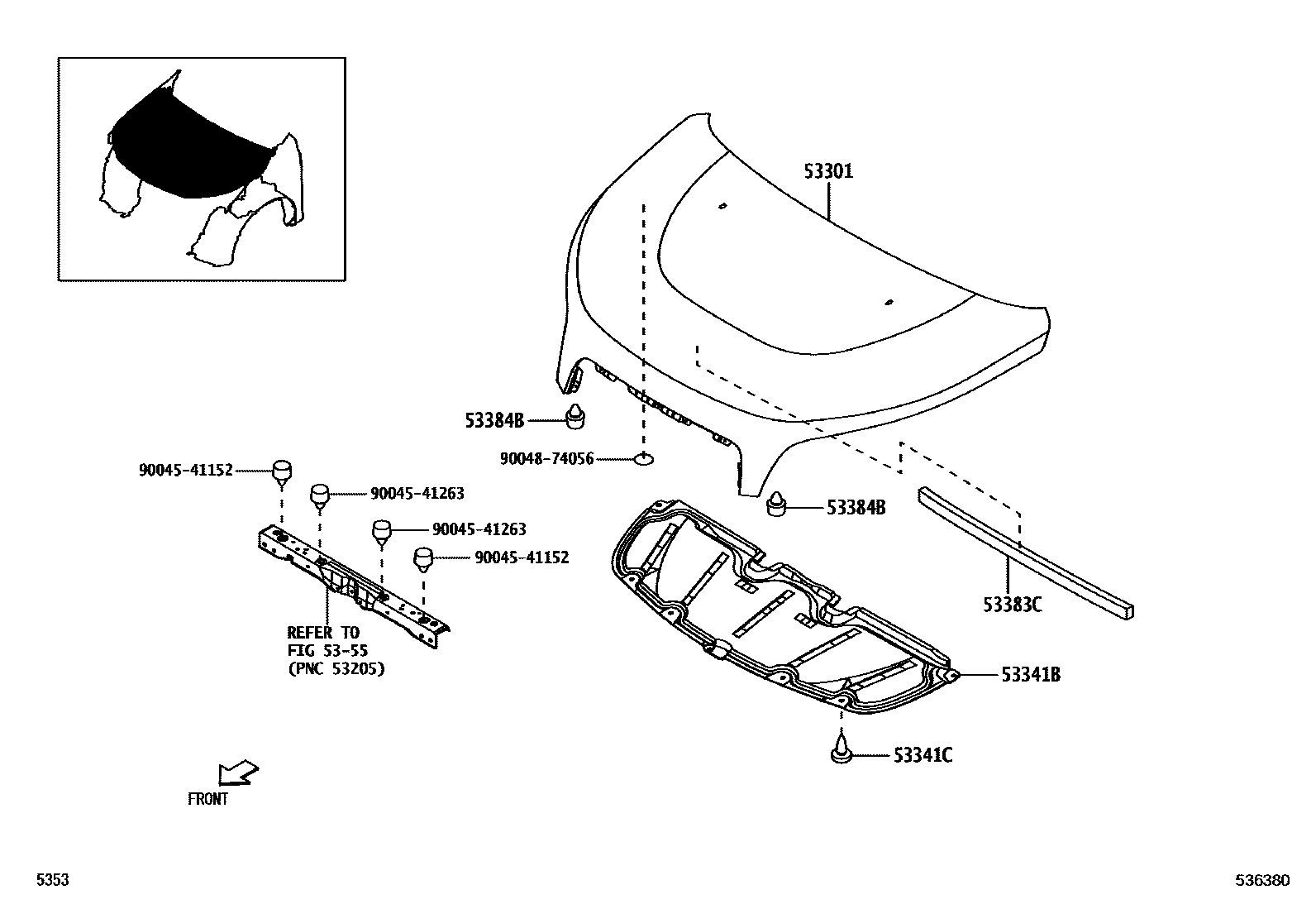
HOOD & FRONT FENDER

53301HOOD SUB-ASSY
53341BINSULATOR, HOOD
53341CCLIP(FOR HOOD INSULATOR)
53383CSEAL, HOOD TO COWL TOP
53384BCUSHION, HOOD, CENTER
5355
9004541152
main90045-41152
9004541263
main90045-41263
9004874056
main90048-74056
9 parts on this diagram · 3 diagrams in section