E
EPC Data
Pricing
Sign In
Home
›
GR
›
656250
›
CENTER STOP LAMP
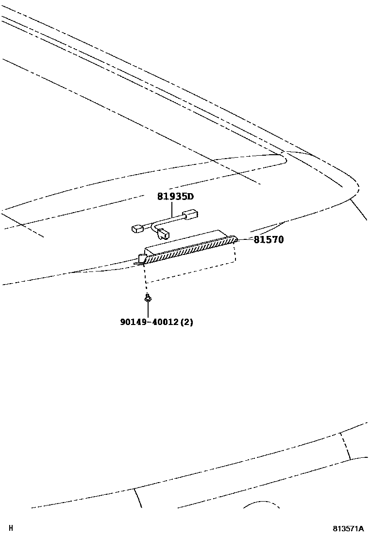
CENTER STOP LAMP
81570
LAMP ASSY, CENTER STOP
main
81570-28270
i
AHR20
201601
main
81570-42071
i
AHR20
201304-201601
81935D
CORD ASSY, CENTER STOP LAMP
main
81935-28010
i
AHR20
201304-201508
main
81935-28011
i
AHR20
201509
9014940012
main
90149-40012
3 parts on this diagram · 1 diagram in section
CENTER STOP LAMP — Toyota Parts Diagram with OEM Numbers & Prices | EPC Data