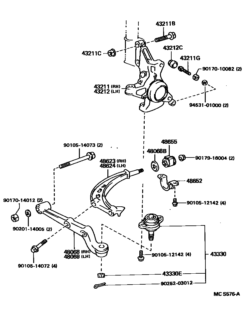
FRONT AXLE ARM & STEERING KNUCKLE

43211KNUCKLE, STEERING, RH
W(RR DISC BRAKE)
AUSTRIA SPEC & W(RR DISC BRAKE)
W(ABS)
W(ABS & DISC BRAKE)
43211BBOLT (FOR ABSORBER SETTING)
TYPE A:REFER TO ILLUSTRATION
TYPE B
TYPE C:REFER TO ILLUSTRATION
43211GBOLT, ROUND HEXAGON (FOR STEERING KNUCKLE STOPPER)
43212KNUCKLE, STEERING, LH
W(RR DISC BRAKE)
W(ABS & DISC BRAKE)
AUSTRIA SPEC & W(RR DISC BRAKE)
W(ABS)
43212CCOVER, FRONT KNUCKLE STOPPER
43330JOINT ASSY, LOWER BALL, FRONT
43330ENUT, CASTLE (FOR FRONT LOWER BALL JOINT SETTING)
48068ARM SUB-ASSY, FRONT SUSPENSION, LOWER NO.1 RH
48068BRETAINER, CUSHION(FOR FRONT SUSPENSION LOWER ARM)
48069ARM SUB-ASSY, FRONT SUSPENSION, LOWER NO.1 LH
48623ARM, FRONT SUSPENSION, LOWER NO.2 RH
48624ARM, FRONT SUSPENSION, LOWER NO.2 LH
48652BRACKET, FRONT LOWER ARM
48655BUSH, LOWER ARM, NO.2
9010512142
main90105-12142
9010514072
main90105-14072
9010514073
main90105-14073
9017010082
main90170-10082
9017014012
main90170-14012
9017916004
main90179-16004
9020114005
main90201-14005
9025203012
main90252-03012
9453101000
main94531-01000
24 parts on this diagram · 2 diagrams in section