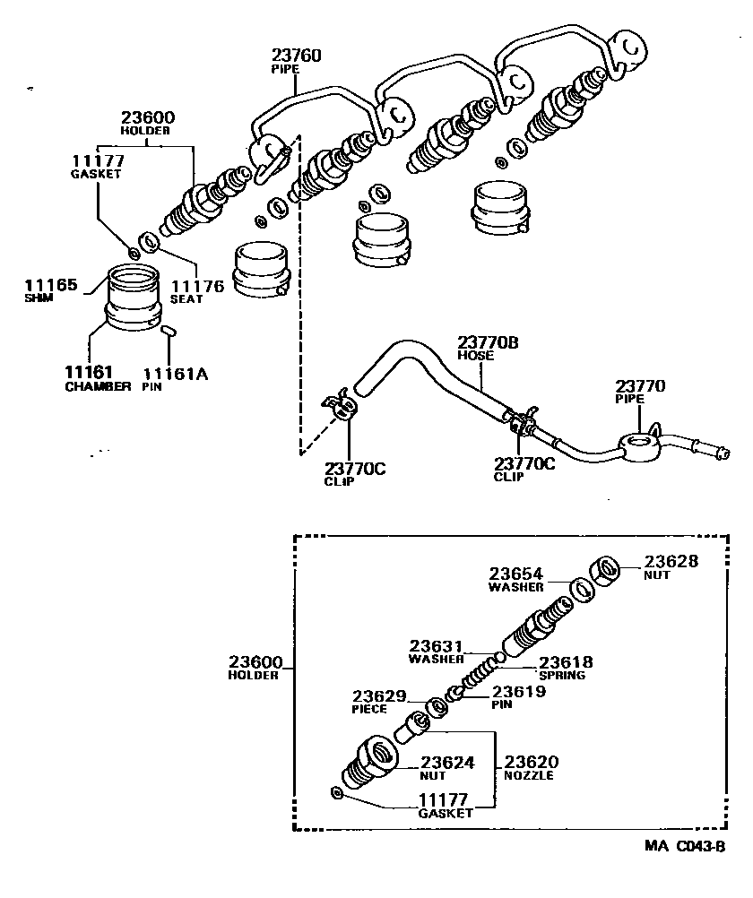
INJECTION NOZZLE

11161CHAMBER, COMBUSTION
11161APIN, STRAIGHT(FOR COMBUSTION CHAMBER)
11165SHIM(FOR COMBUSTION CHAMBER)
T=0.05
T=0.10
11176SEAT, INJECTION NOZZLE
11177GASKET, INJECTION NOZZLE SEAT
23600HOLDER & NOZZLE SET, NOZZLE
23618SPRING, NOZZLE HOLDER PRESSURE
23619PIN, NOZZLE HOLDER PRESSURE
23620NOZZLE ASSY
23624NUT, NOZZLE RETAINING
sub23624-64041
23628NUT(FOR RING PACKING SETTING)
23629PIECE, DISTANCE(FOR NOZZLE)
23631WASHER(FOR NOZZLE HOLDER PRESSURE SPRING)
T=0.900
T=0.925
T=0.950
T=0.975
T=1.000
T=1.025
T=1.050
T=1.075
T=1.100
T=1.125
T=1.150
T=1.175
T=1.200
T=1.225
T=1.250
T=1.275
T=1.300
T=1.325
T=1.350
T=1.375
T=1.400
T=1.425
T=1.450
T=1.475
T=1.500
T=1.525
T=1.550
T=1.575
T=1.600
T=1.625
T=1.650
T=1.675
T=1.700
T=1.725
T=1.750
T=1.775
T=1.800
T=1.825
T=1.850
T=1.875
T=1.900
T=1.925
T=1.950
23654WASHER(FOR RING PACKING)
23760PIPE ASSY, NOZZLE LEAKAGE
23770BHOSE, FUEL
L=100
23770CCLAMP OR CLIP(FOR FUEL HOSE SET)
sub90467-10149
18 parts on this diagram · 1 diagram in section