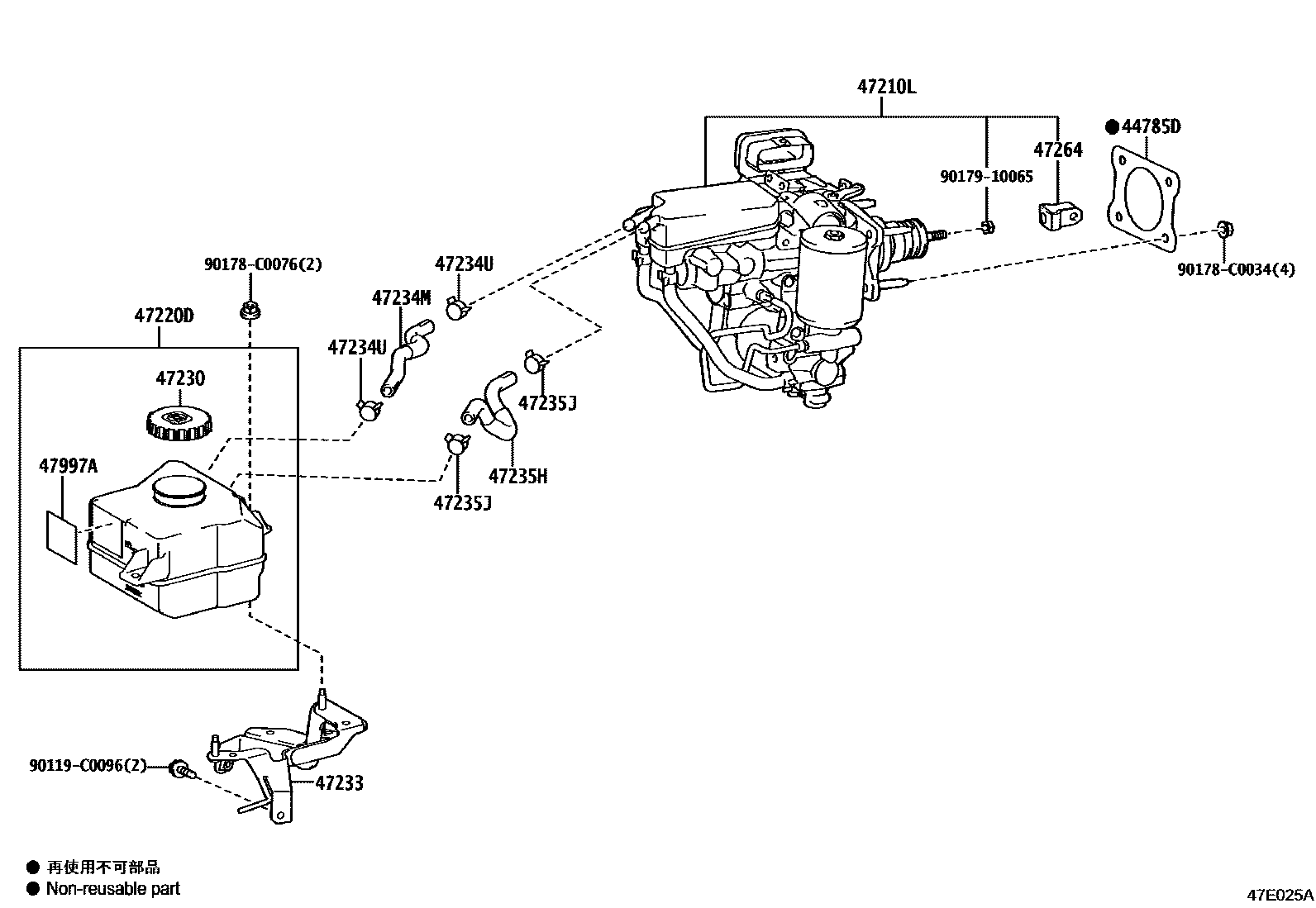
BRAKE MASTER CYLINDER

44785DGASKET, BRAKE MASTER CYLINDER
47210LBRAKE BOOSTER ASSY, W/MASTER CYLINDER
47220DRESERVOIR ASSY, BRAKE MASTER CYLINDER
47230CAP ASSY, BRAKE MASTER CYLINDER RESERVOIR FILLER
47233BRACKET, RESERVOIR
47234MHOSE, RESERVOIR, NO.1
47234UCLIP(FOR RESERVOIR HOSE NO.1)
47235HHOSE, RESERVOIR, NO.2
47235JCLIP(FOR RESERVOIR HOSE NO.2)
47264CLEVIS, MASTER CYLINDER PUSH ROD
47997ALABEL, ACCUMULATOR CAUTION, NO.1
90119C0096
main90119-C0096
90178C0034
main90178-C0034
90178C0076
main90178-C0076
9017910065
main90179-10065
15 parts on this diagram · 1 diagram in section