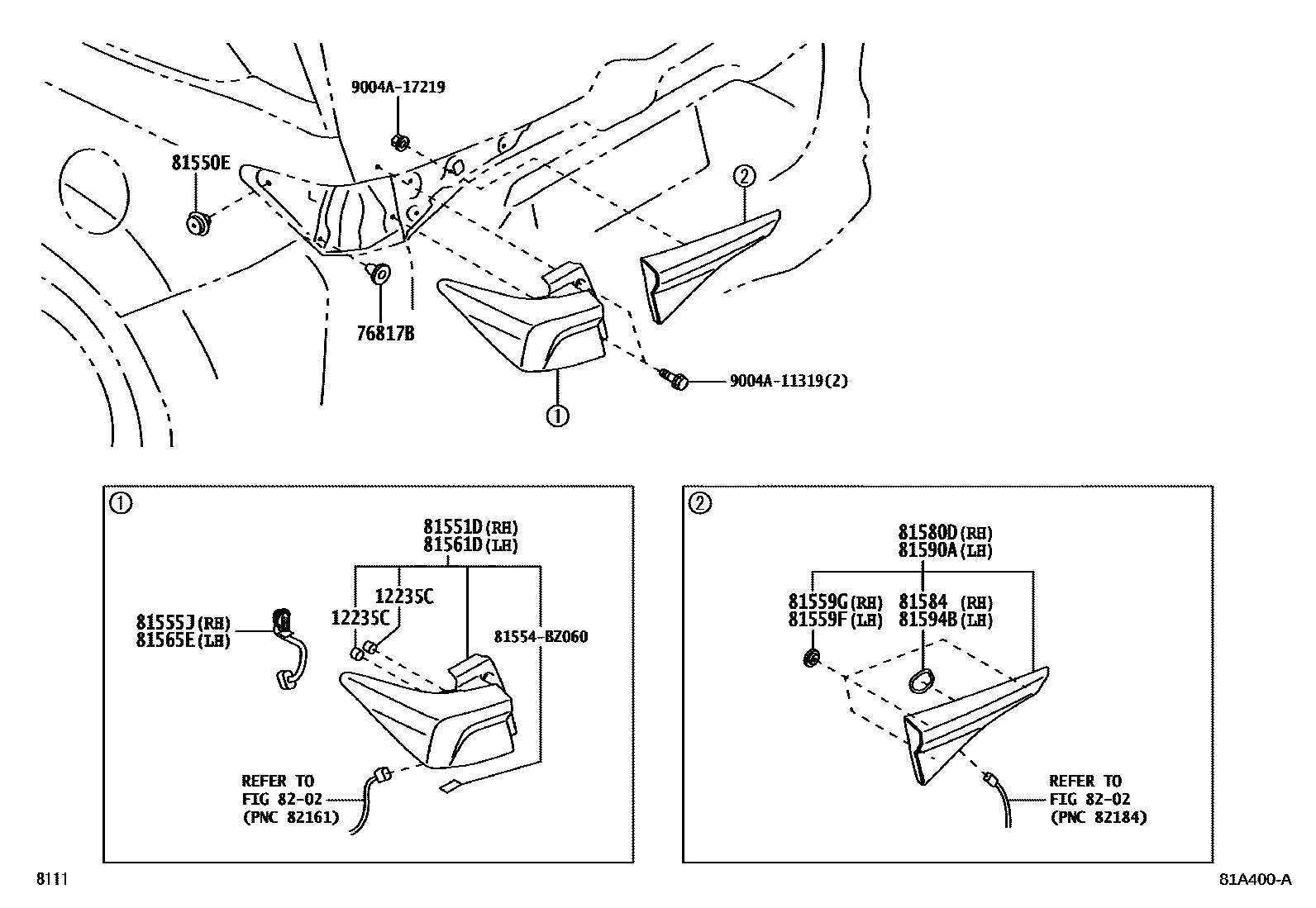
REAR COMBINATION LAMP

12235CCAP, VENTILATION
81550ECLIP(FOR REAR COMBINATION LAMP)
81551DLENS & BODY, REAR COMBINATION LAMP, RH
81555JSOCKET & WIRE, REAR COMBINATION LAMP, RH
81559FCLIP, RR COMBINATION LAMP, LH
81559GCLIP, RR COMBINATION LAMP, RH
81561DLENS & BODY, REAR COMBINATION LAMP, LH
81565ESOCKET & WIRE, REAR COMBINATION LAMP, LH
81584PACKING, REAR LAMP RH
81594BPACKING, REAR LAMP LH
8202
81554BZ060GASKET, REAR COMBINATION LAMP BODY, RH
main81554-BZ060
9004A11319
main9004A-11319
9004A17219
main9004A-17219
17 parts on this diagram · 2 diagrams in section