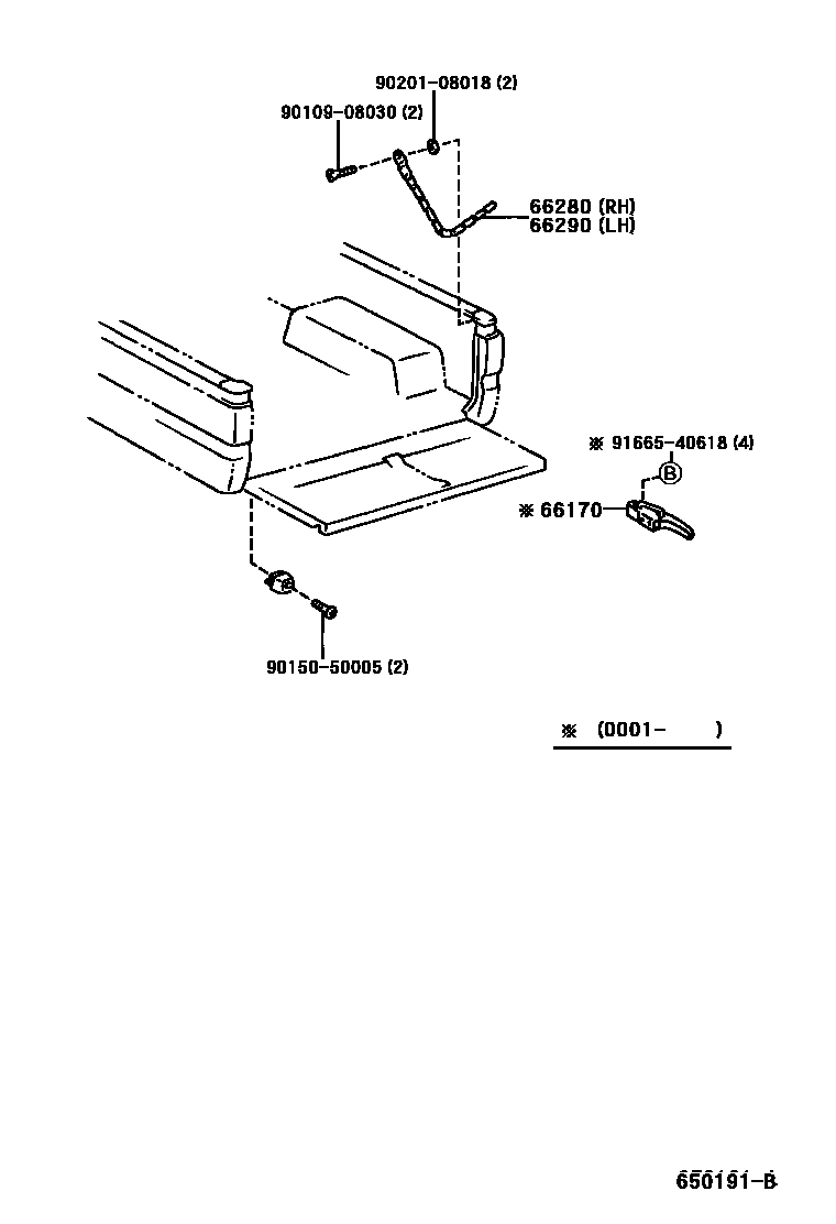
REAR BODY GUARD FRAME & TAIL GATE

66170LATCH ASSY, REAR BODY TAIL GATE
66280CHAIN ASSY, TAIL GATE, RH
66290CHAIN ASSY, TAIL GATE, LH
9010908030
main90109-08030
9015050005
main90150-50005
9020108018
main90201-08018
9166540618
main91665-40618
7 parts on this diagram · 5 diagrams in section