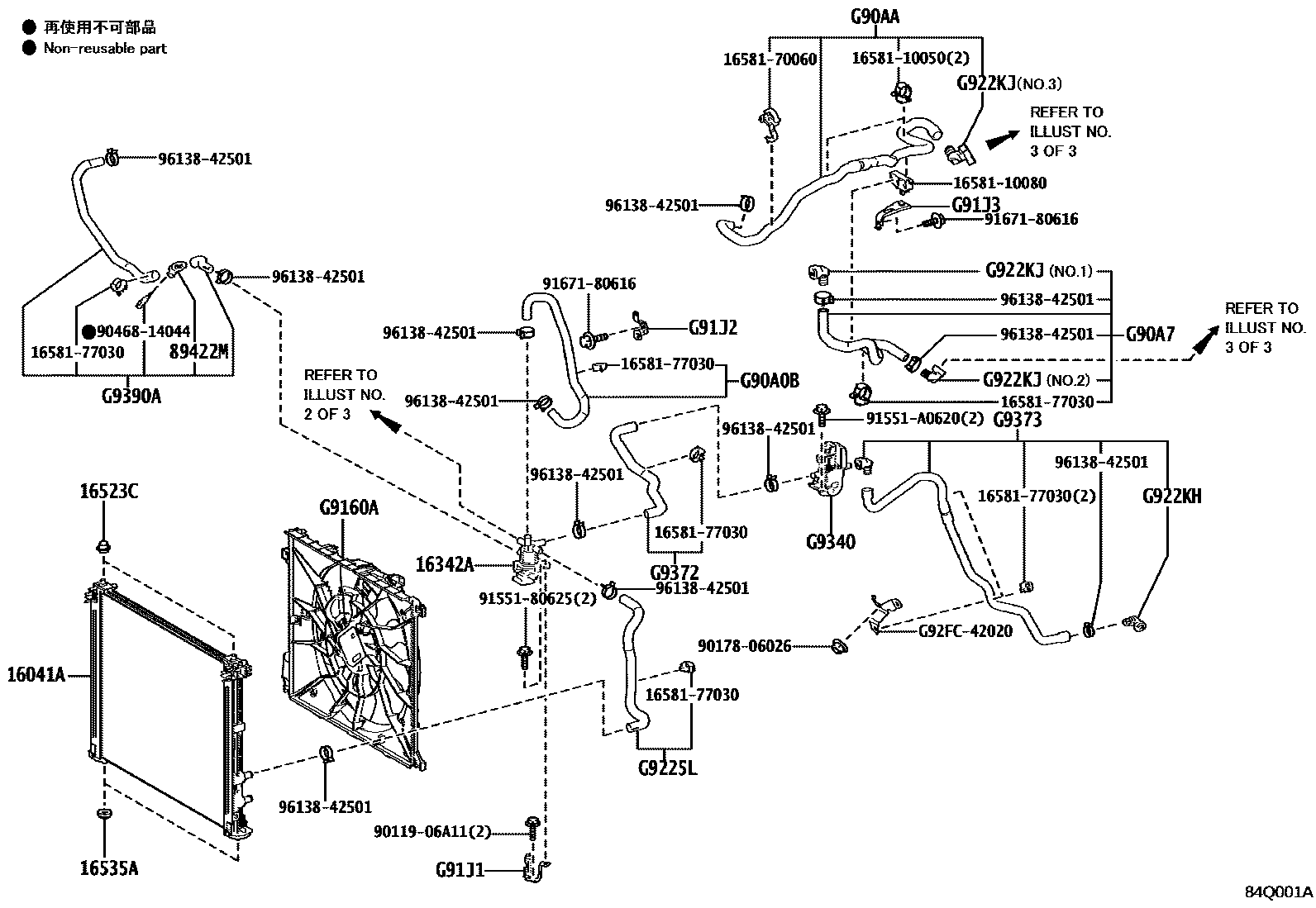
BEV COOLING

16041ARADIATOR SUB-ASSY, L/CAP
16342AVALVE, WATER CONTROL
16523CCUSHION, RADIATOR SUPPORT
16535ASUPPORT, RADIATOR, LOWER
89422MSENSOR, WATER TEMPERATURE
G90A0BHOSE ASSY, INVERTER COOLING, NO.1
G90A7HOSE SUB-ASSY, INVERTER COOLING, NO.7
G90AAHOSE SUB-ASSY, INVERTER COOLING, NO.10
G9160AFAN ASSY, INVERTER COOLING W/MOTOR
G91J1BRACKET, INVERTER COOLING, NO.1
G91J2BRACKET, INVERTER COOLING, NO.2
G91J3BRACKET, INVERTER COOLING, NO.3
G9225LHOSE, INVERTER COOLING, NO.1
G922KHCONNECTOR, WATER HOSE, NO.1
G922KJCONNECTOR, WATER HOSE, NO.2
NO.1
NO.3
NO.2
G9340HEATER ASSY, BATTERY COOLANT
G9372HOSE, EV WATER BY-PASS, NO.2
G9373HOSE, EV WATER BY-PASS, NO.3
G9390HOSE ASSY, EV WATER PUMP, NO.1
G9390AHOSE ASSY, EV WATER PUMP, NO.2
1658110050CLAMP, HOSE(FOR WATER HOSE)
main16581-10050
1658110080CLAMP, HOSE(FOR WATER HOSE)
main16581-10080
1658170060CLAMP, HOSE(FOR WATER HOSE)
main16581-70060
1658177030CLAMP, HOSE(FOR WATER HOSE)
main16581-77030
9011906A11
main90119-06A11
9017806026
main90178-06026
9046814044
main90468-14044
9155180625
main91551-80625
91551A0620
main91551-A0620
9167180616
main91671-80616
9613842501
main96138-42501
G92FC42020BRACKET, BATTERY COOLING, NO.1
mainG92FC-42020
32 parts on this diagram · 7 diagrams in section