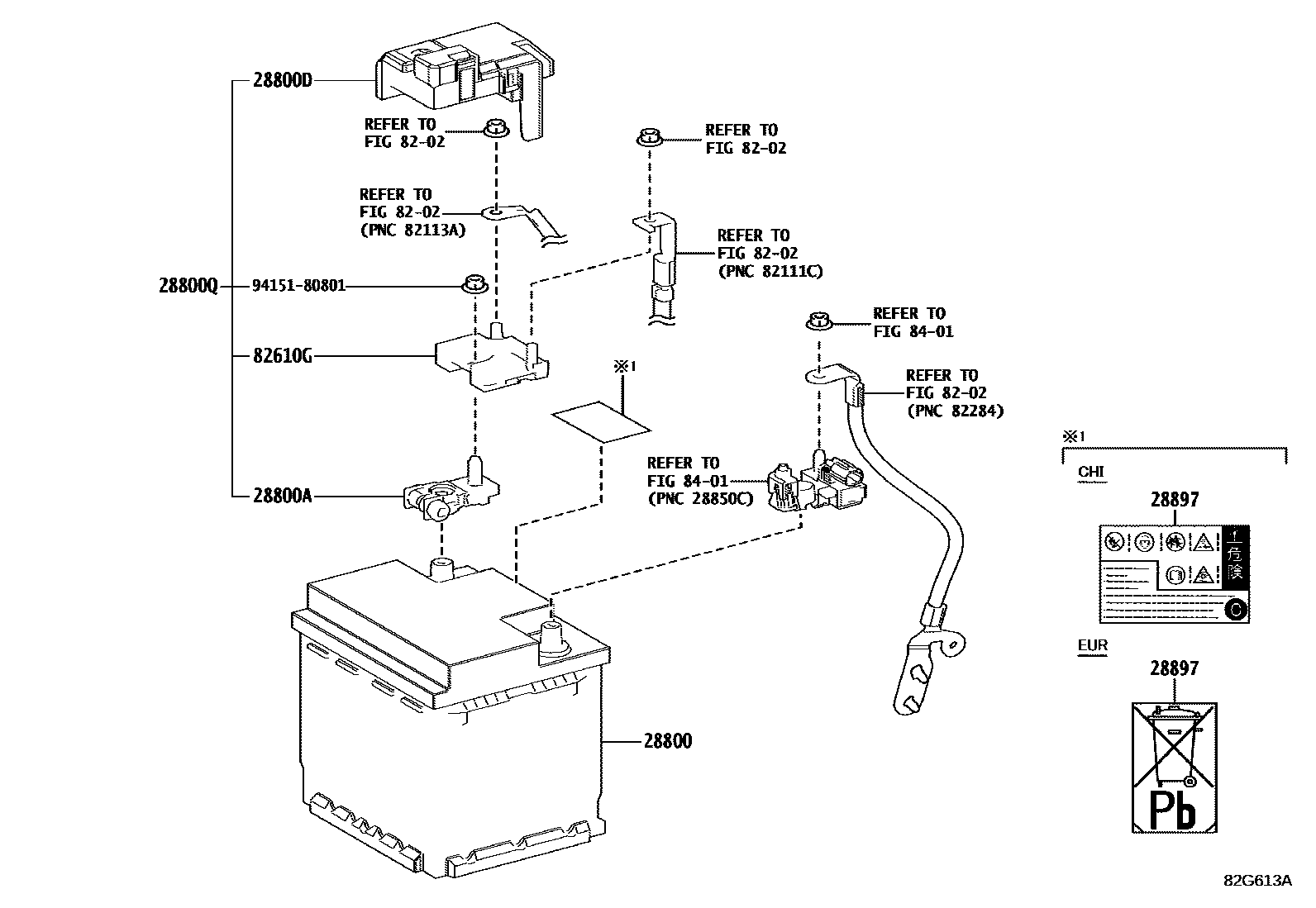
BATTERY & BATTERY CABLE

28800BATTERY
LN2
28800ATERMINAL, BATTERY POSITIVE
28800DCOVER, CONNECTOR(FOR BATTERY TERMINAL)
28800QCOVER, CONNECTOR(FOR BATTERY)
28897PLATE, BATTERY CAUTION
8202
82610GBLOCK ASSY, FUSE
8401
9415180801
main94151-80801
9 parts on this diagram · 8 diagrams in section