E
EPC Data

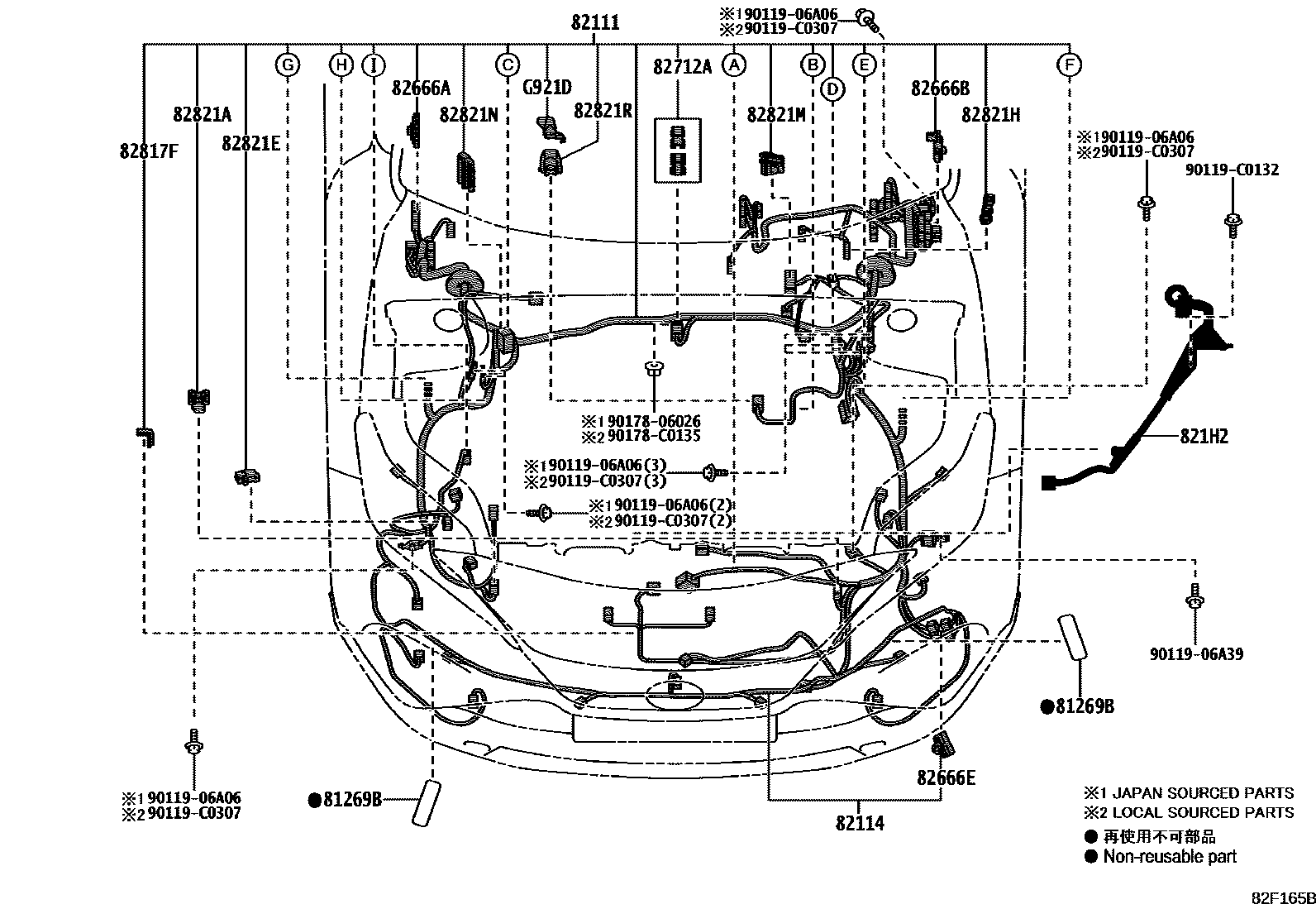
WIRING & CLAMP

Parts diagram
81269BSEAL, FOG LAMP
main81269-42010i202111-202408
82111WIRE, ENGINE ROOM MAIN
main82115-0E100i202111-202304
main82115-0E101i202304-202409
main82115-0E102i202409
main82115-0E110i202111-202304
main82115-0E111i202304-202409
main82115-0E112i202409
main82115-0E120i202111-202304
main82115-0E121i202304-202408
main82115-0E130i202111-202304
main82115-0E140i202111-202304
main82115-0E280i202111-202304
main82115-0E281i202304-202409
main82115-0E282i202409
main82115-0EG50i202304-202409
main82115-0EG51i202409
main82115-0EG60i202304-202409
main82115-0EG61i202409
main82115-0EG70i202304-202408
82114WIRE, ENGINE ROOM, NO.4
main82114-0E290i202111
main82114-0E300i202111-202408
main82114-0E370i202111-202408
821H2WIRE, HV AIR CONDITIONER
main821H2-07030i202111
main821H2-0R030i202111-202408
82666AHOLDER, CONNECTOR NO.2
main82666-60220i202111-202408
82666BHOLDER, CONNECTOR NO.3
main82666-42710i202111-202408
82666EHOLDER, CONNECTOR NO.6
main82666-48130i202111-202408
82712ASUPPORT, WIRING HARNESS
main82712-42060i202111-202408
82817FPROTECTOR, WIRING HARNESS, NO.7
main82817-2A790i202111-202408
82821ACOVER, CONNECTOR
main82821-30650i202111-202408
82821ECOVER, CONNECTOR
main82821-30690i202111-202408
82821HCOVER, CONNECTOR
main82821-33620i202111-202409
main82821-48420i202409
82821MCOVER, CONNECTOR
main82821-47190i202111-202408
82821NCOVER, CONNECTOR
main82821-48270i202111-202408
82821RCOVER, CONNECTOR
main82821-47680i202111
G921DPROTECTOR, INVERTER CONNECTOR COVER
mainG921D42010i202111-202408
mainG921D47020i202111
9011906A06
9011906A39
90119C0132
90119C0307
9017806026
90178C0135

22 parts on this diagram · 22 diagrams in section

WIRING & CLAMP — Toyota Parts Diagram with OEM Numbers & Prices | EPC Data