E
EPC Data

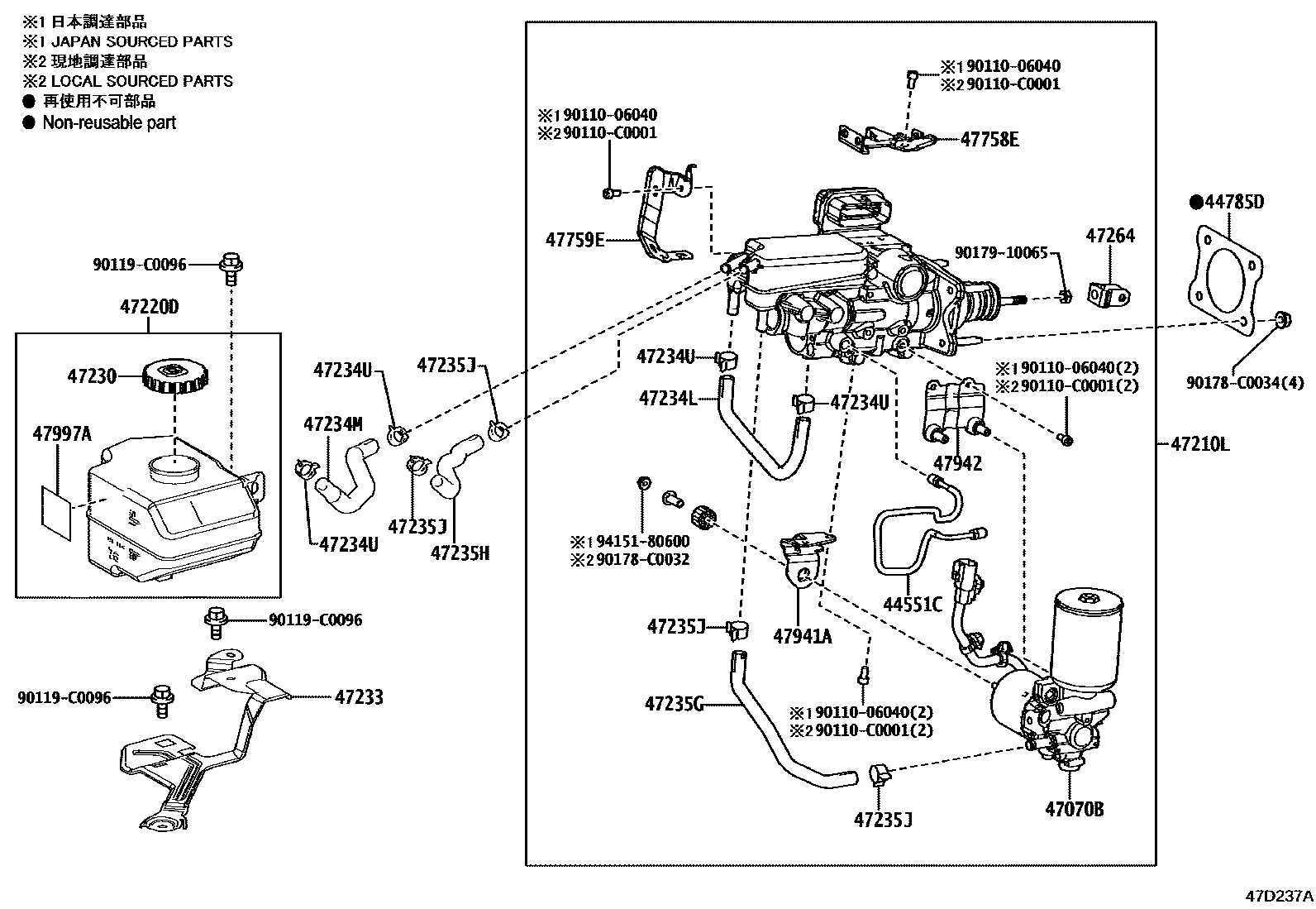
BRAKE MASTER CYLINDER

Parts diagram
44551CTUBE, BRAKE ACTUATOR, NO.1
main44551-0E020i202108-202405
44785DGASKET, BRAKE MASTER CYLINDER
main44785-02050i202108-202405
47070BPUMP ASSY, BRAKE BOOSTER W/ACCUMULATOR
main47070-48100i202108-202405
47210LBRAKE BOOSTER ASSY, W/MASTER CYLINDER
main47050-0E080i202108-202405
main47050-0E220i202405
*614
47220DRESERVOIR ASSY, BRAKE MASTER CYLINDER
main47220-0E130i202209-202405
main47220-0E170i202108-202405
47230CAP ASSY, BRAKE MASTER CYLINDER RESERVOIR FILLER
main47230-0R100i202209-202405
main47230-47090i202108-202405
47233BRACKET, RESERVOIR
main47233-0E130i202108-202405
main47233-0E200i202209-202405
47234LHOSE, RESERVOIR, NO.1
main47234-0E191i202108-202405
main47234-0E230i202209-202405
47234MHOSE, RESERVOIR, NO.1
main47234-0E180i202108-202405
47234UCLIP(FOR RESERVOIR HOSE NO.1)
main90466-C0026i202108-202405
(L)
main90466-C0026i202405
main96137-41501i202108-202405
(J)
47235GHOSE, RESERVOIR, NO.2
main47235-0E060i202108-202405
47235HHOSE, RESERVOIR, NO.2
main47235-0E050i202108-202405
47235JCLIP(FOR RESERVOIR HOSE NO.2)
main90466-C0026i202108-202405
(L)
main90466-C0026i202405
main96137-41501i202108-202405
(J)
47264CLEVIS, MASTER CYLINDER PUSH ROD
main47264-12060i202108-202405
47758EBRACKET, WIRE CLAMP, NO.1
main47758-0E030i202108-202405
47759EBRACKET, WIRE CLAMP, NO.2
main47759-0E030i202108-202405
47941ABRACKET, BRAKE POWER SUPPLY, NO.1
main47941-0E010i202108-202405
47942BRACKET, BRAKE POWER SUPPLY, NO.2
main47942-0E010i202108-202405
47997ALABEL, ACCUMULATOR CAUTION, NO.1
main47997-76010i202108-202405
9011006040
90110C0001
90119C0096
90178C0032
90178C0034
9017910065
9415180600

26 parts on this diagram · 2 diagrams in section

BRAKE MASTER CYLINDER — Toyota Parts Diagram with OEM Numbers & Prices | EPC Data