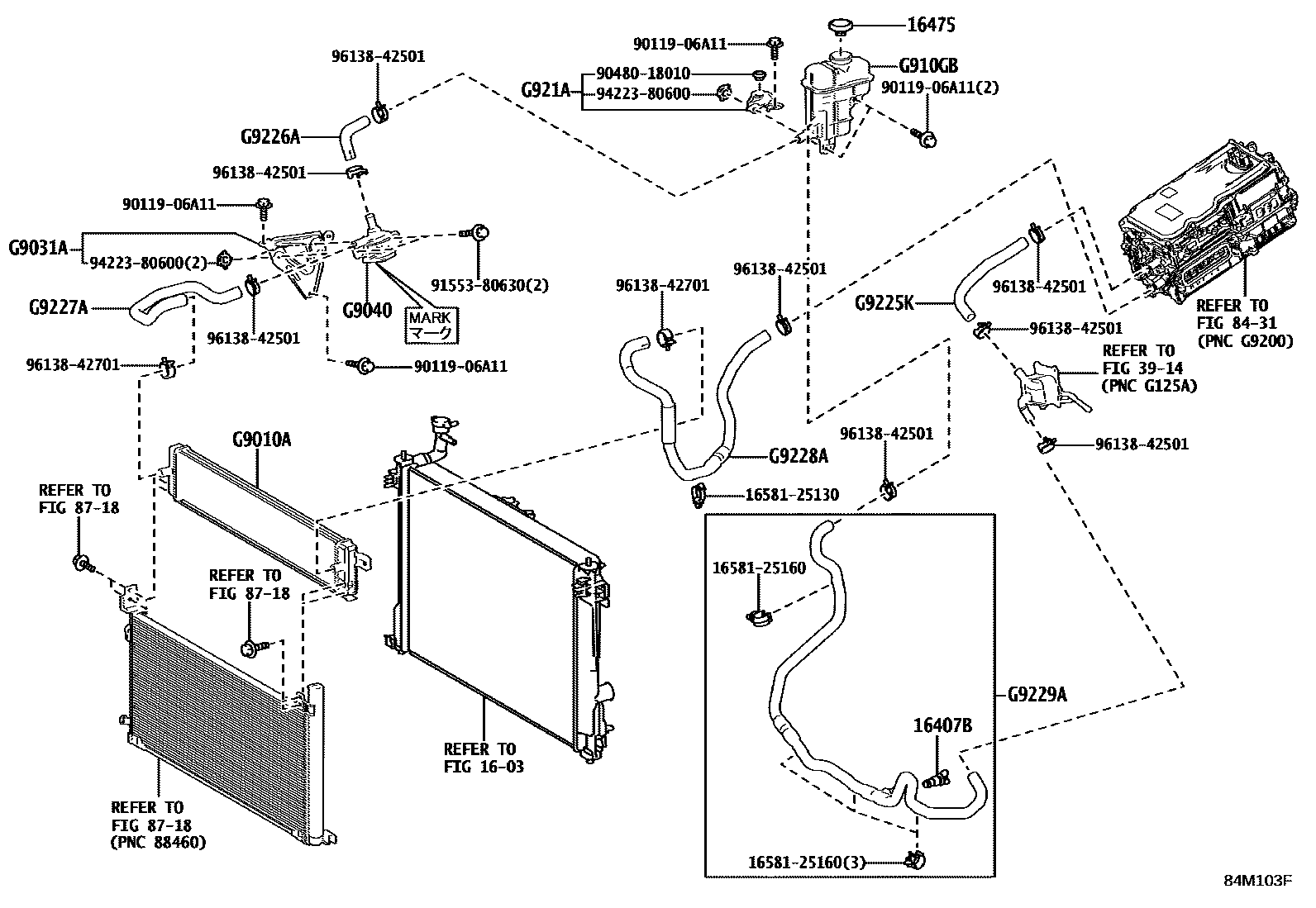
INVERTER COOLING

1603
16407BCOCK SUB-ASSY, RADIATOR DRAIN
16475CAP, RESERVE TANK
3914
8431
8718
G9010ARADIATOR ASSY
G9031ABRACKET SUB-ASSY, HV WATER PUMP
G9040INVERTER WATER PUMP ASSY(W/MOTOR)
MARK=G
MARK=T
G910GBTANK SUB-ASSY, INVERTER RESERVE W/O CAP
G921ABRACKET, INVERTER RESERVE TANK, NO.1
G9225KHOSE, INVERTER COOLING, NO.1
G9226AHOSE, INVERTER COOLING, NO.2
G9227AHOSE, INVERTER COOLING, NO.3
G9228AHOSE, INVERTER COOLING, NO.4
G9229AHOSE, INVERTER COOLING, NO.5
1658125130CLAMP, HOSE(FOR WATER HOSE)
1658125160CLAMP, HOSE(FOR WATER HOSE)
9011906A11
9048018010
9155380630
9422380600
9613842501
9613842701
24 parts on this diagram · 2 diagrams in section