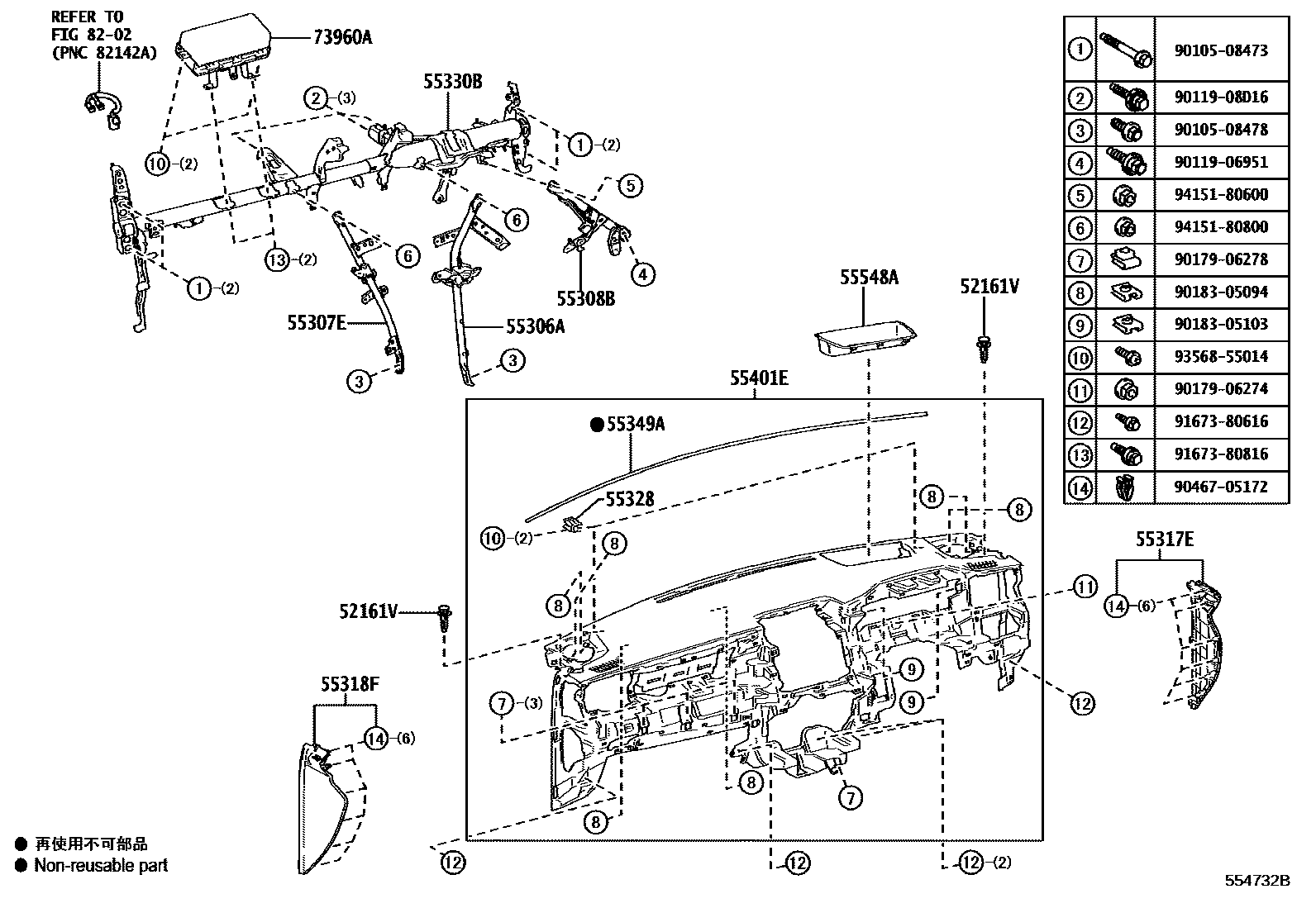
INSTRUMENT PANEL & GLOVE COMPARTMENT

52161VPIECE, INSTRUMENT PANEL
sub52161-0K040
55306ABRACE SUB-ASSY, INSTRUMENT PANEL, NO.1
55307EBRACE SUB-ASSY, INSTRUMENT PANEL, NO.2
55308BBRACE SUB-ASSY, INSTRUMENT PANEL TO COWL, NO.3
55317EPANEL, INSTRUMENT SIDE, NO.1
BLACK,TRIM1#,2#,4#
55318FPANEL, INSTRUMENT SIDE, NO.2
BLACK,TRIM1#,2#,4#
55328PIN, INSTRUMENT PANEL, NO.1
55330BREINFORCEMENT ASSY, INSTRUMENT PANEL
55349ACUSHION, INSTRUMENT PANEL
55401EPAD SUB-ASSY, INSTRUMENT PANEL SAFETY
BLACK,TRIM1#,2#,4#
55548ACOVER, INSTRUMENT PANEL HOLE
73960AAIRBAG ASSY, INSTRUMENT PANEL PASSENGER W/O DOOR
8202
9010508473
main90105-08473
9010508478
main90105-08478
9011906951
main90119-06951
9011908D16
main90119-08D16
9017906274
main90179-06274
9017906278
main90179-06278
9018305094
main90183-05094
9018305103
main90183-05103
9046705172
main90467-05172
9167380616
main91673-80616
9167380816
main91673-80816
9356855014
main93568-55014
9415180600
main94151-80600
9415180800
main94151-80800
27 parts on this diagram · 4 diagrams in section