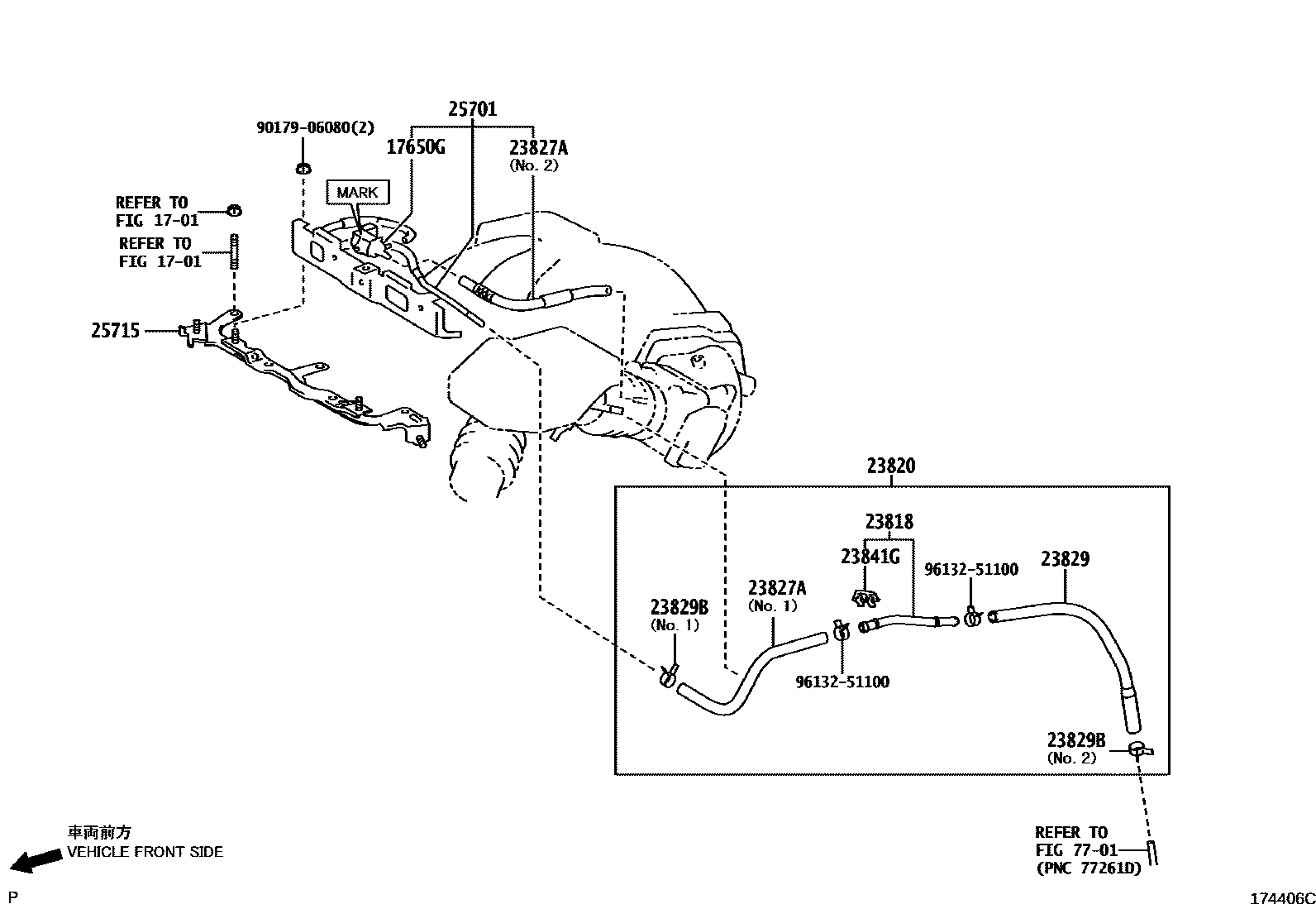
VACUUM PIPING

1701
17650GVALVE, DUTY VACUUM SWITCHING
MARK 90910-12259
23818PIPE, FUEL VAPOR FEED
23820HOSE ASSY, FUEL VAPOR FEED
23827AHOSE, FUEL VAPOR FEED, NO.2
NO.2
NO.1
23829HOSE, FUEL VAPOR FEED, NO.3
23829BCLIP(FOR FUEL VAPOR FEED HOSE)
NO.1
NO.2
23841GCLAMP, FUEL HOSE
25701VALVE SET, EMISSION CONTROL
25715BRACKET, EMISSION CONTROL VALVE
7701
9017906080
main90179-06080
9613251100
main96132-51100
13 parts on this diagram · 1 diagram in section