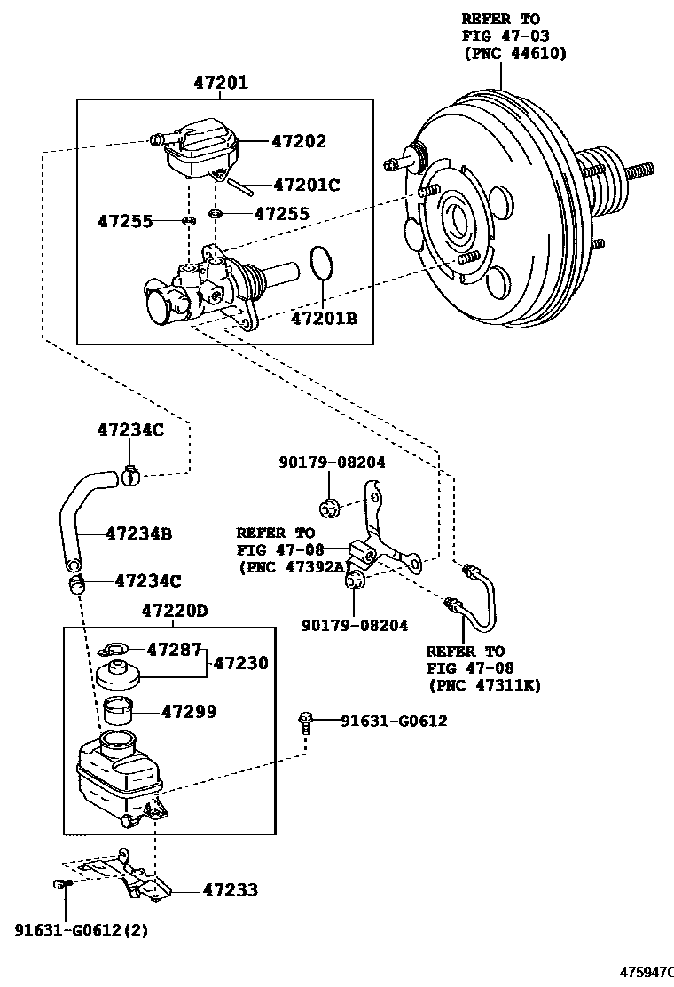
BRAKE MASTER CYLINDER

4703
4708
47201BRING, O(FOR BRAKE MASTER CYLINDER)
47201CRING PIN, BRAKE MASTER CYLINDER
47202RESERVOIR SUB-ASSY, BRAKE MASTER CYLINDER
47220DRESERVOIR ASSY, BRAKE MASTER CYLINDER
47230CAP ASSY, BRAKE MASTER CYLINDER RESERVOIR FILLER
47233BRACKET, RESERVOIR
47234BTUBE, RESERVOIR, NO.1
47234CCLIP(FOR RESERVOIR TUBE NO.1)
47255GROMMET, MASTER CYLINDER RESERVOIR
sub90016-AT001
47287LABEL, BRAKE FLUID INFORMATION
47299STRAINER, BRAKE MASTER CYLINDER RESERVOIR
9017908204
main90179-08204
91631G0612
main91631-G0612
16 parts on this diagram · 2 diagrams in section