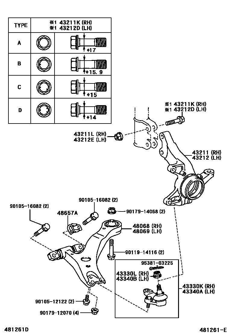
FRONT AXLE ARM & STEERING KNUCKLE

43211KNUCKLE, STEERING, RH
43211KBOLT (FOR STEERING KNUCKLE RH)
OD=17,TYPE A:REFER TO ILLUSTRATION
OD=15.9,TYPE B:REFER TO ILLUSTRATION
OD=15,TYPE C:REFER TO ILLUSTRATION
OD=14,TYPE D:REFER TO ILLUSTRATION
43211LNUT (FOR STEERING KNUCKLE RH)
43212KNUCKLE, STEERING, LH
43212DBOLT (FOR STEERING KNUCKLE LH)
OD=17,TYPE A:REFER TO ILLUSTRATION
OD=15.9,TYPE B:REFER TO ILLUSTRATION
OD=15,TYPE C:REFER TO ILLUSTRATION
OD=14,TYPE D:REFER TO ILLUSTRATION
43212ENUT (FOR STEERING KNUCKLE LH)
43330KJOINT ASSY, LOWER BALL, FRONT RH
sub43330-29615
43330LNUT, CASTLE (FOR FRONT LOWER BALL JOINT RH)
43340AJOINT ASSY, LOWER BALL, FRONT LH
sub43340-29215
43340BNUT, CASTLE (FOR FRONT LOWER BALL JOINT LH)
48068ARM SUB-ASSY, FRONT SUSPENSION, LOWER NO.1 RH
sub48068-58010
48069ARM SUB-ASSY, FRONT SUSPENSION, LOWER NO.1 LH
sub48069-58010
48657ASTOPPER, FRONT LOWER ARM BUSH
9010512122
main90105-12122
9010516082
main90105-16082
9011914116
main90119-14116
9017912070
main90179-12070
9017914068
main90179-14068
9538103225
main95381-03225
19 parts on this diagram · 1 diagram in section