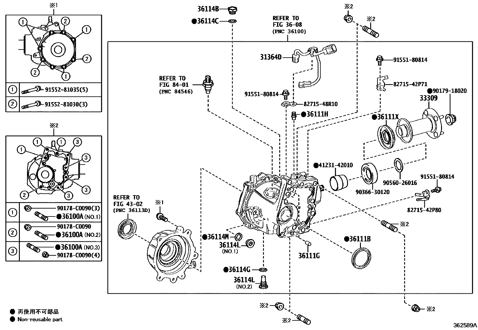
TRANSFER CASE & EXTENSION HOUSING

31364DWIRE, CLUTCH CONTROL SOLENOID
33309FLANGE SUB-ASSY, TRANSFER OUTPUT SHAFT COMPANION
3608
36100ABOLT, STUD (FOR TRANSFER & TRANSAXLE SETTING)
S=30 & 22,L=64,NO.3:REFER ILLUST.
S=22 & 22,L=73,NO.1:REFER ILLUST.
S=22 & 22,L=53,NO.2:REFER ILLUST.
36111BSEAL, OIL (FOR TRANSFER CASE)
36111GPIN, STRAIGHT (FOR TRANSFER CASE)
L=20,OD=10
36111HPLUG, BREATHER (FOR TRANSFER CASE)
36111XSEAL, OIL (FOR TRANSFER CASE), NO.2
36114BPLUG, NO.1 (FOR TRANSFER CASE)
36114CGASKET, NO.1 (FOR TRANSFER CASE)
36114GGASKET (FOR TRANSFER DRAIN PLUG)
36114LPLUG, FILLER(FOR TRANSFER)
NO.1:REFER ILLUST.
NO.2:REFER ILLUST.
36114MGASKET (FOR TRANSFER FILLER PLUG)
4302
8401
4123142010SPACER, REAR DIFFERENTIAL DRIVE PINION BEARING
main41231-42010
8271542P71BRACKET,WIRING HARNESS CLAMP
main82715-42P71
8271542P80BRACKET,WIRING HARNESS CLAMP
main82715-42P80
8271548R10BRACKET,WIRING HARNESS CLAMP
main82715-48R10
90178C0090
main90178-C0090
9017918020
main90179-18020
9036630120
main90366-30120
9056026016
main90560-26016
9155180814
main91551-80814
9155281030
main91552-81030
9155281035
main91552-81035
26 parts on this diagram · 1 diagram in section