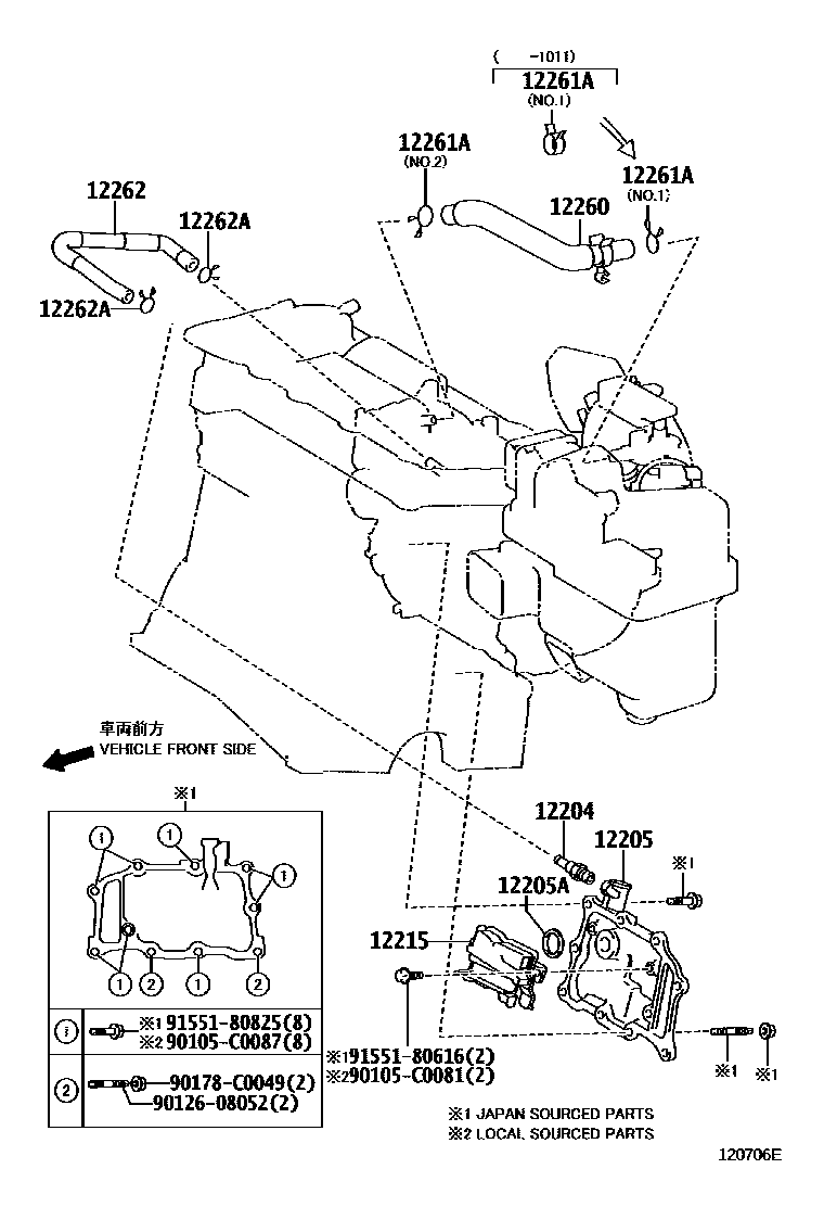
VENTILATION HOSE

12204VALVE SUB-ASSY, VENTILATION
12205CASE SUB-ASSY, VENTILATION
(J)
12205ARING, O(FOR VENTILATION CASE)
12215SEPARATOR, CASE
12260HOSE ASSY, VENTILATION
12261HOSE, VENTILATION
12261ACLIP OR CLAMP(FOR VENTILATION HOSE)
NO.2
NO.1
NO.1
12262HOSE, VENTILATION, NO.2
12262ACLIP(FOR VENTILATION HOSE NO.2)
90105C0081
main90105-C0081
90105C0087
main90105-C0087
9012608052
main90126-08052
90178C0049
main90178-C0049
9155180616
main91551-80616
9155180825
main91551-80825
15 parts on this diagram · 2 diagrams in section