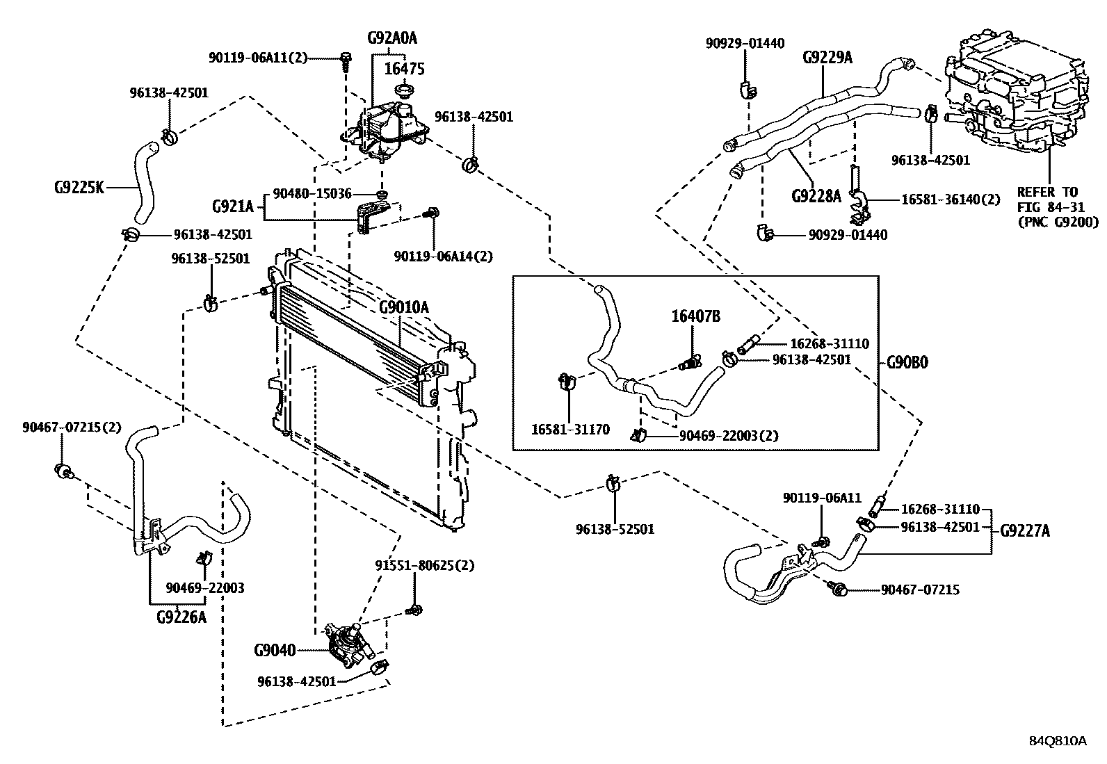
INVERTER COOLING

16407BCOCK SUB-ASSY, RADIATOR DRAIN
16475CAP, RESERVE TANK
8431
G9010ARADIATOR ASSY
G90B0HOSE ASSY, INVERTER COOLING, NO.2
G921ABRACKET, INVERTER RESERVE TANK, NO.1
G9225KHOSE, INVERTER COOLING, NO.1
G9226AHOSE, INVERTER COOLING, NO.2
G9227AHOSE, INVERTER COOLING, NO.3
G9228AHOSE, INVERTER COOLING, NO.4
G9229AHOSE, INVERTER COOLING, NO.5
G92A0ATANK ASSY, INVERTER RESERVE
1626831110PIPE, WATER BY-PASS, NO.1
main16268-31110
1658131170CLAMP, HOSE(FOR WATER HOSE)
main16581-31170
1658136140CLAMP, HOSE(FOR WATER HOSE)
main16581-36140
9011906A11
main90119-06A11
9011906A14
main90119-06A14
9046707215
main90467-07215
9046922003
main90469-22003
9048015036
main90480-15036
9092901440
main90929-01440
9155180625
main91551-80625
9613842501
main96138-42501
9613852501
main96138-52501
25 parts on this diagram · 2 diagrams in section