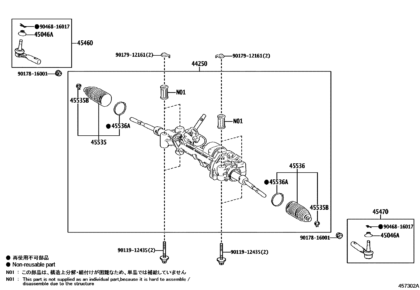
FRONT STEERING GEAR & LINK

44250GEAR ASSY, POWER STEERING(FOR RACK & PINION)
"I PACKAGE"*(I)
"VERSION L"*(L)
*614
*614
"F SPORT"*(F),*614
"F SPORT"*(F)&WITHOUT(PRE-COLLISION SYSTEM),*614
WITHOUT(PRE-COLLISION SYSTEM),*614
"VERSION L"*(L)&SUSPENSION-AIR SUSPENSION & *AVS
"F SPORT"*(F),*614
"F SPORT"*(F),*614
"F SPORT"*(F)&LEXUS SAFETY SYSTEM+,*614
45046ANUT, CASTLE(FOR TIE ROD END)
45460ROD ASSY, TIE, RH
45470ROD ASSY, TIE, LH
45535BOOT, STEERING RACK, NO.1
45535BCLIP(FOR STEERING RACK BOOT)
45536BOOT, STEERING RACK, NO.2
45536ACLAMP(FOR STEERING RACK BOOT NO.2)
9011912435
main90119-12435
9017816001
main90178-16001
9017912161
main90179-12161
9046816017
main90468-16017
12 parts on this diagram · 2 diagrams in section