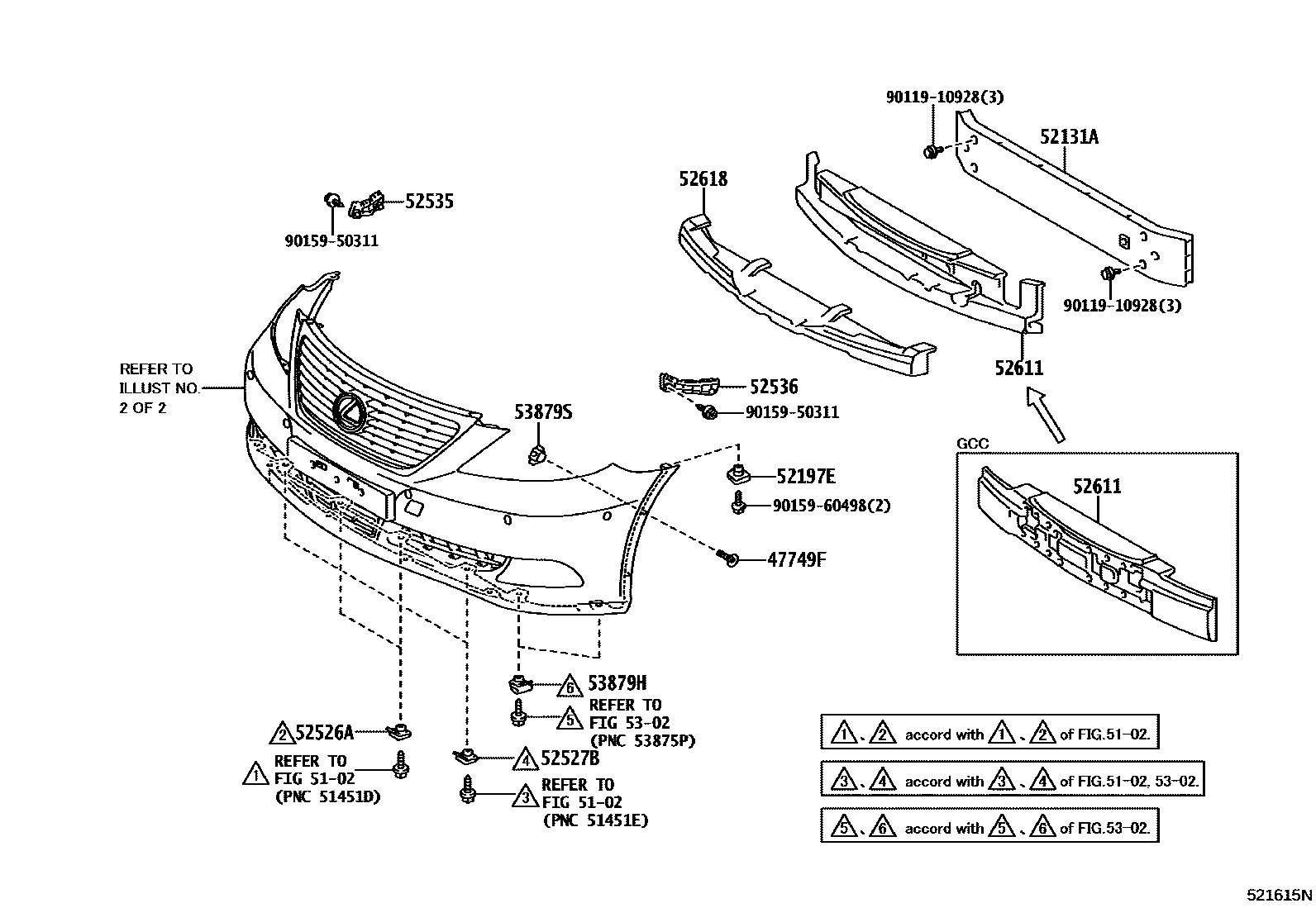
FRONT BUMPER & BUMPER STAY

47749FCLIP, PIN HOLD
5102
52197EBRACKET, FRONT BUMPER SEAL
52526ARETAINER, FRONT BUMPER, LOWER NO.1
52527BRETAINER, FRONT BUMPER, LOWER NO.2
52535RETAINER, FRONT BUMPER SIDE, RH
52536RETAINER, FRONT BUMPER SIDE, LH
5302
53879HRETAINER, FRONT FENDER LINER
53879SRETAINER, FRONT FENDER LINER
9011910928
main90119-10928
9015950311
main90159-50311
9015960498
main90159-60498
16 parts on this diagram · 4 diagrams in section