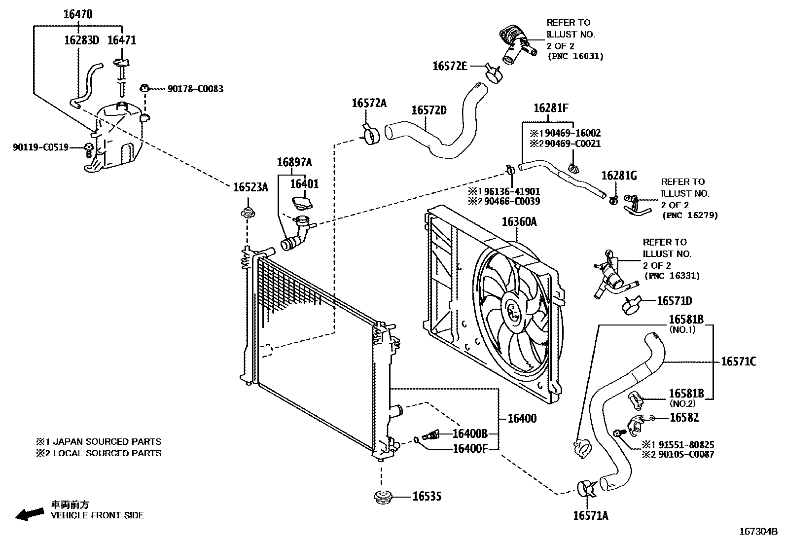
RADIATOR & WATER OUTLET

16281HOSE, WATER BY-PASS, NO.4
*132
*636
*633
*633
*633
*609
16281FHOSE, WATER BY-PASS, NO.5
16281GCLIP(FOR WATER BY-PASS HOSE NO.5)
16283HOSE, WATER BY-PASS, NO.6
*132
(J)
*633
*636
*636
*633
*633
*609
(L)
16283DHOSE, WATER BY-PASS, NO.6
16360AFAN ASSY, W/MOTOR
16400RADIATOR ASSY
16400BPLUG, RADIATOR DRAIN COCK
16400FPACKING(FOR RADIATOR DRAIN COCK)
16401CAP SUB-ASSY, RADIATOR
16470TANK ASSY, RADIATOR RESERVE
16471CAP SUB-ASSY, RESERVE TANK
16523ACUSHION, RADIATOR SUPPORT
16535SUPPORT, RADIATOR, LOWER
16571ACLAMP OR CLIP, HOSE(FOR RADIATOR INLET)
(L)
(J)
16571CHOSE, RADIATOR, NO.1
16571DCLIP, RADIATOR HOSE, NO.1
NO.1:REFER ILLUST.
(J)
NO.2:REFER ILLUST.
(J),NO.2:SEE ILLUST
(L)
(L)
(L),NO.2:SEE ILLUST
NO.2:REFER ILLUST.
(J)
16572ACLAMP OR CLIP, HOSE(FOR RADIATOR OUTLET NO.1)
16572DHOSE, RADIATOR, NO.2
16572ECLIP, RADIATOR HOSE, NO.2
NO.1:REFER ILLUST.
(J),NO.2:SEE ILLUST
NO.2:REFER ILLUST.
(J)
NO.2:REFER ILLUST.
(L),NO.2:SEE ILLUST
(L)
16581BCLAMP, HOSE(FOR RADIATOR HOSE)
NO.1:REFER ILLUST.
NO.2:REFER ILLUST.
NO.2:REFER ILLUST.
16582BRACKET, RADIATOR, NO.1
16897ANECK, FILLER
90105C0087
main90105-C0087
90119C0519
main90119-C0519
90178C0083
main90178-C0083
90466C0039
main90466-C0039
9046916002
main90469-16002
90469C0021
main90469-C0021
9155180825
main91551-80825
9613641901
main96136-41901
31 parts on this diagram · 17 diagrams in section