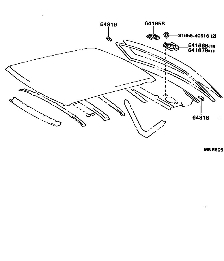
ROOF PANEL & BACK WINDOW GLASS

64165BCOVER, UPPER BACK PANEL HOLE, NO.1
64166BCOVER, UPPER BACK PANEL HOLE, NO.2
64167BCOVER, UPPER BACK PANEL HOLE, NO.3
64818SPACER, BACK WINDOW GLASS
64819SPACER, BACK WINDOW GLASS, NO.2
20X12X5
20X12X3
20X12X7
9165540616
main91655-40616
6 parts on this diagram · 2 diagrams in section