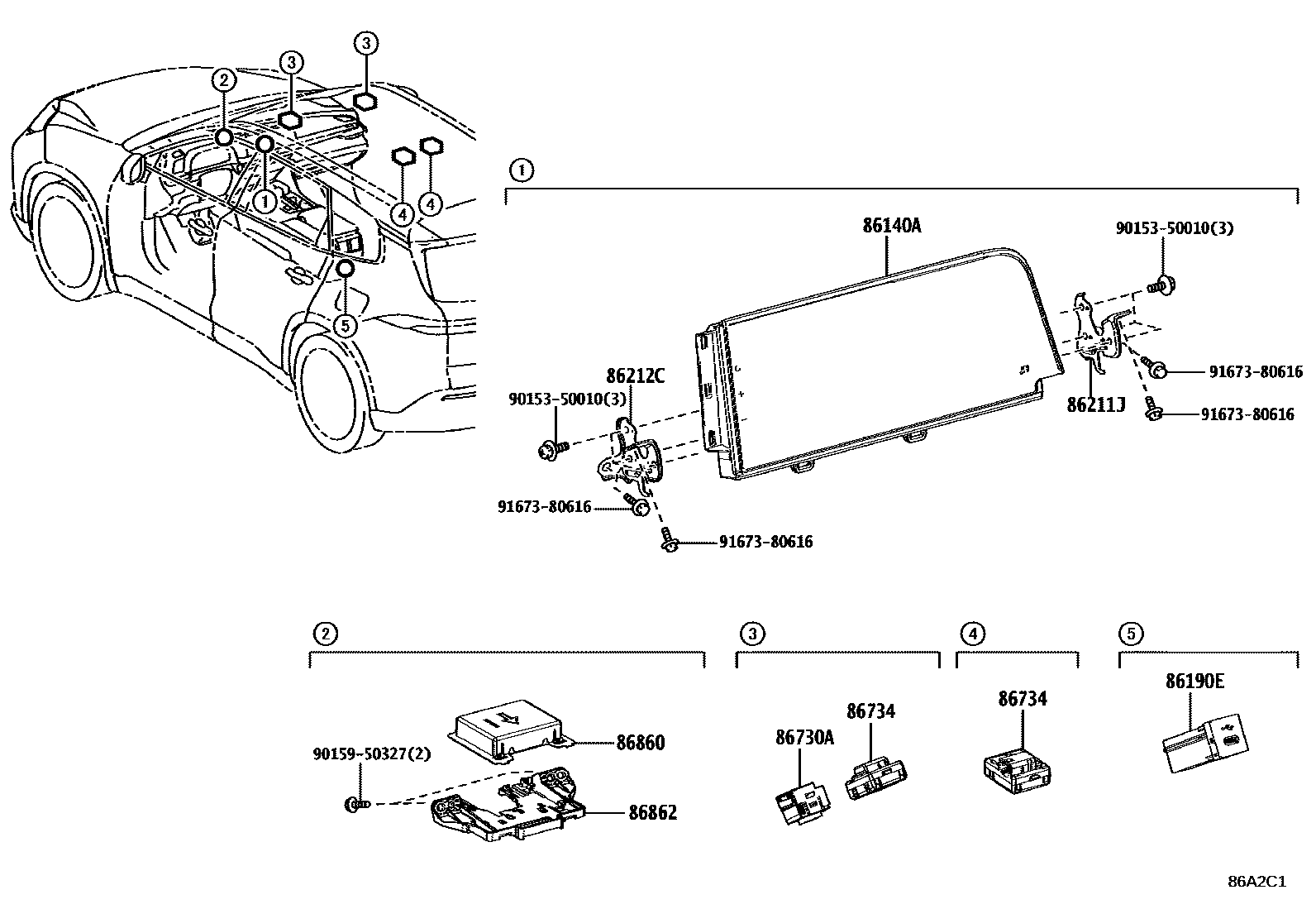
NAVIGATION & FRONT MONITOR DISPLAY

86140ARECEIVER ASSY, RADIO & DISPLAY
DESAY
DESAY
HANGSHENG
86190EADAPTER ASSY, STEREO JACK
86211JBRACKET, RADIO RECEIVER, NO.1
86212CBRACKET, RADIO RECEIVER, NO.2
86730AMICROPHONE ASSY, TELEPHONE
86734MICROPHONE, ACTIVE NOISE CONTROL
86860ANTENNA ASSY, NAVIGATION
86862BRACKET, NAVIGATION ANTENNA
9015350010
9015950327
9167380616
11 parts on this diagram · 1 diagram in section