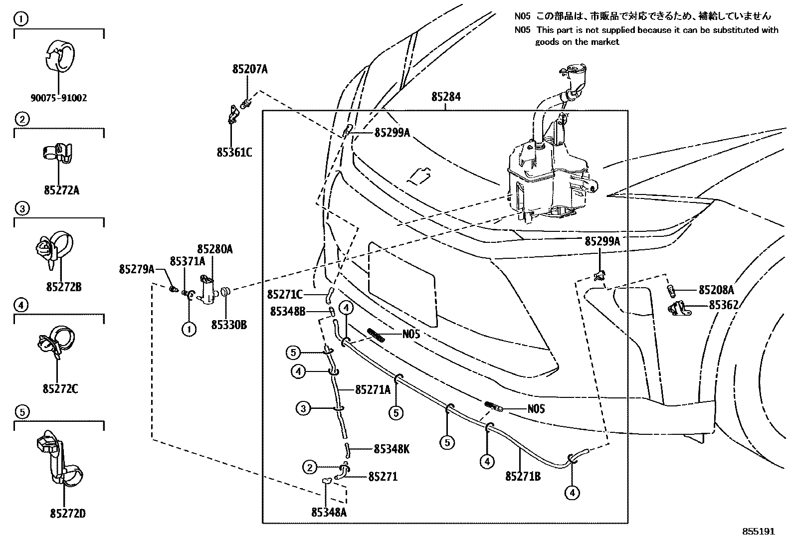
HEADLAMP CLEANER

85207AACTUATOR SUB-ASSY, HEADLAMP WASHER, RH
85208AACTUATOR SUB-ASSY, HEADLAMP WASHER, LH
85271HOSE, HEADLAMP CLEANER, NO.1
L=160
85271AHOSE, HEADLAMP CLEANER, NO.2
L=550
85271BHOSE, HEADLAMP CLEANER, NO.3
L=1500
85271CHOSE, HEADLAMP CLEANER, NO.4
L=80
85272ACLAMP, HEADLAMP CLEANER, NO.1
85272BCLAMP, HEADLAMP CLEANER, NO.2
85272CCLAMP, HEADLAMP CLEANER, NO.3
85272DCLAMP, HEADLAMP CLEANER, NO.4
85279AJOINT, HEADLAMP CLEANER HOSE
85280AMOTOR AND PUMP ASSY, HEADLAMP CLEANER
85284HOSE ASSY, HEADLAMP CLEANER WASHER
85299AVALVE ASSY, CHECK
85330BBUSH, HEADLAMP CLEANER WASHER JAR
85348AJOINT, HEADLAMP CLEANER HOSE, NO.1
85348BJOINT, HEADLAMP CLEANER HOSE, NO.2
85348KJOINT, HEADLAMP CLEANER ELBOW, NO.1
85361CBRACKET, WASHER
85362BRACKET, WASHER, NO.2
85371AHOSE, HEADLAMP CLEANER(FROM MOTOR TO JOINT)
L=35
9007591002
main90075-91002
22 parts on this diagram · 1 diagram in section