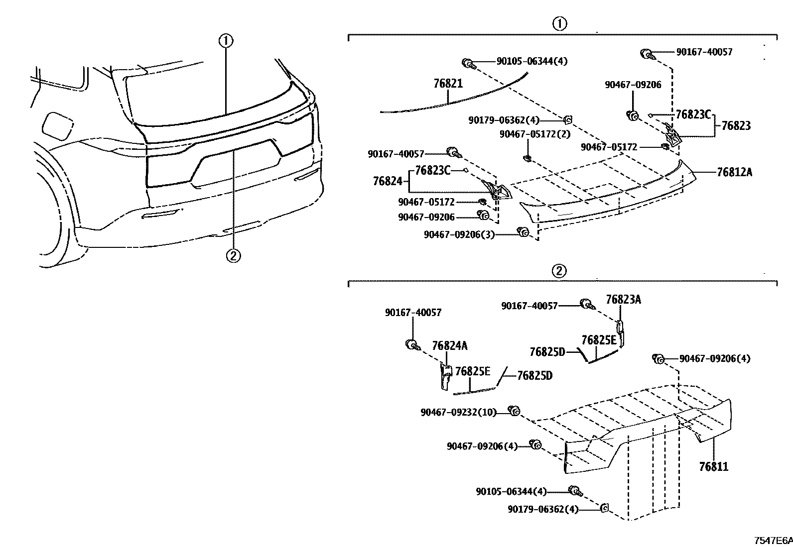
REAR MOULDING

76812AGARNISH, BACK DOOR, OUTSIDE NO.2
76821PROTECTOR, BACK DOOR GARNISH MOULDING, UPPER
76823PROTECTOR, BACK DOOR GARNISH MOULDING, RH
76823APROTECTOR, LUGGAGE COMPARTMENT DOOR GARNISH, OUTSIDE RH
76823CPROTECTOR, BACK DOOR GARNISH MOULDING, NO.2
76824PROTECTOR, BACK DOOR GARNISH MOULDING, LH
76824APROTECTOR, LUGGAGE COMPT DOOR GARNISH, OUTSIDE LH
76825DPROTECTOR, BACK DOOR OUTSIDE GARNISH, NO.1
76825EPROTECTOR, BACK DOOR OUTSIDE GARNISH, NO.2
9010506344
main90105-06344
9016740057
main90167-40057
9017906362
main90179-06362
9046705172
main90467-05172
9046709206
main90467-09206
9046709232
main90467-09232
16 parts on this diagram · 1 diagram in section