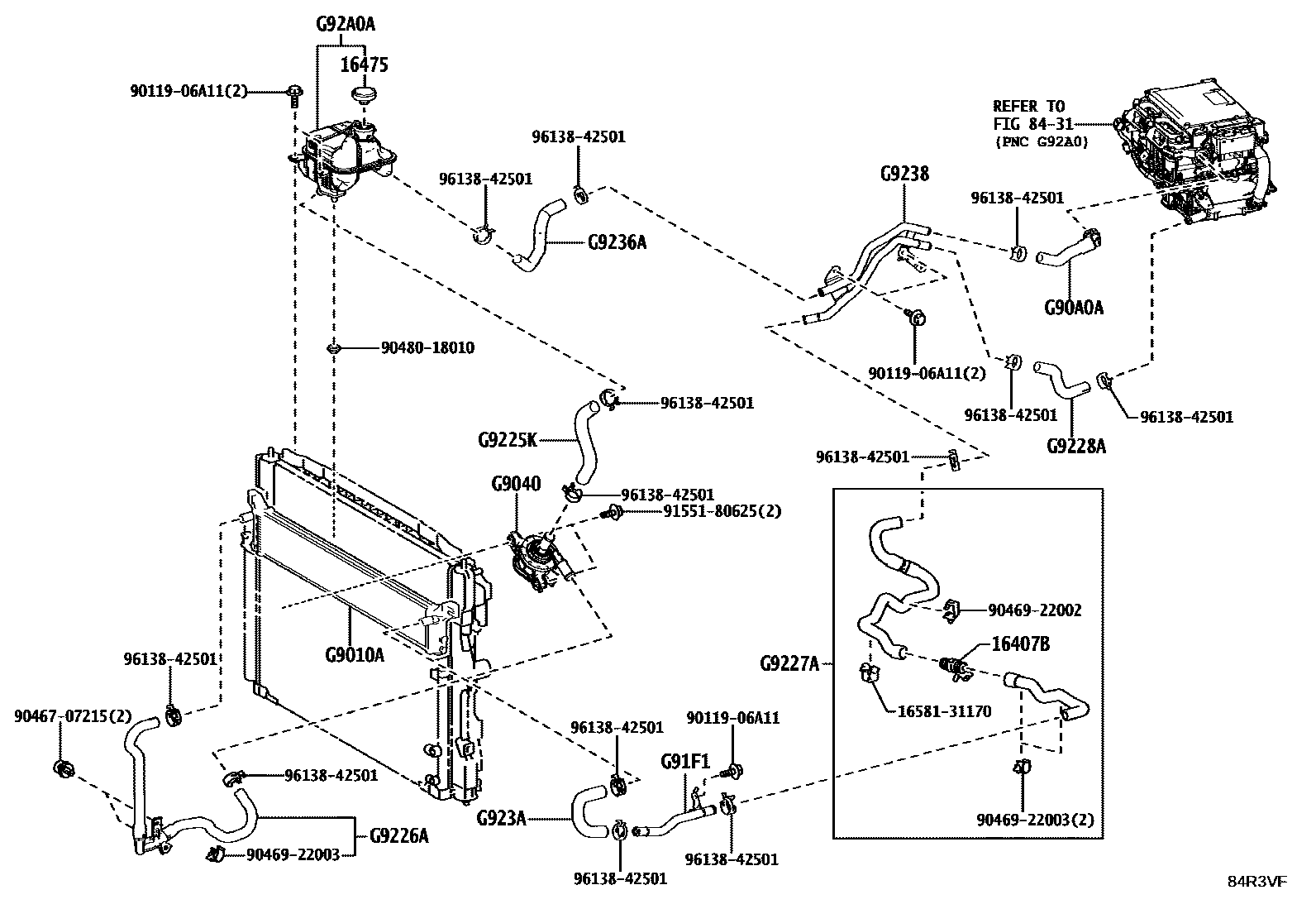
INVERTER COOLING

16407BCOCK SUB-ASSY, RADIATOR DRAIN
16475CAP, RESERVE TANK
8431
G9010ARADIATOR ASSY
G9040INVERTER WATER PUMP ASSY(W/MOTOR)
G90A0AHOSE ASSY, INVERTER COOLING, NO.1
G91F1PIPE, HV RADIATOR OUTLET
G9225KHOSE, INVERTER COOLING, NO.1
G9226AHOSE, INVERTER COOLING, NO.2
G9227AHOSE, INVERTER COOLING, NO.3
G9228AHOSE, INVERTER COOLING, NO.4
G9236AHOSE, INVERTER COOLING, NO.6
G9238PIPE, INVERTER COOLING
G923AHOSE, INVERTER COOLING, NO.7
G92A0ATANK ASSY, INVERTER RESERVE
1658131170CLAMP, HOSE(FOR WATER HOSE)
main16581-31170
9011906A11
main90119-06A11
9046707215
main90467-07215
9046922002
main90469-22002
9046922003
main90469-22003
9048018010
main90480-18010
9155180625
main91551-80625
9613842501
main96138-42501
23 parts on this diagram · 1 diagram in section