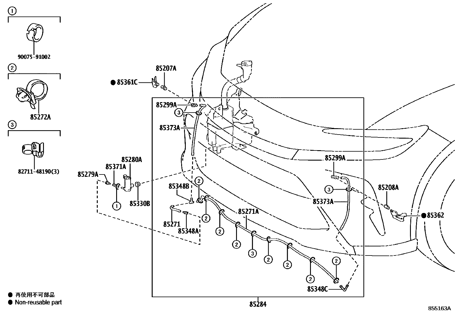
HEADLAMP CLEANER

85207AACTUATOR SUB-ASSY, HEADLAMP WASHER, RH
85208AACTUATOR SUB-ASSY, HEADLAMP WASHER, LH
85271HOSE, HEADLAMP CLEANER, NO.1
L=140
85271AHOSE, HEADLAMP CLEANER, NO.2
L=1550
85272ACLAMP, HEADLAMP CLEANER, NO.1
85279AJOINT, HEADLAMP CLEANER HOSE
85280AMOTOR AND PUMP ASSY, HEADLAMP CLEANER
85284HOSE ASSY, HEADLAMP CLEANER WASHER
85299AVALVE ASSY, CHECK
85330BBUSH, HEADLAMP CLEANER WASHER JAR
85348AJOINT, HEADLAMP CLEANER HOSE, NO.1
85348BJOINT, HEADLAMP CLEANER HOSE, NO.2
85348CJOINT, HEADLAMP CLEANER HOSE, NO.3
85361CBRACKET, WASHER
85362BRACKET, WASHER, NO.2
85371AHOSE, HEADLAMP CLEANER(FROM MOTOR TO JOINT)
L=35
85373AHOSE, HEADLAMP CLEANER WASHER (FROM JOINT TO NOZZLE)
L=360
8271148190WIRE, FUSE TO FUSE(FOR COMBUSTION HEATER)
main82711-48190
9007591002
main90075-91002
19 parts on this diagram · 1 diagram in section