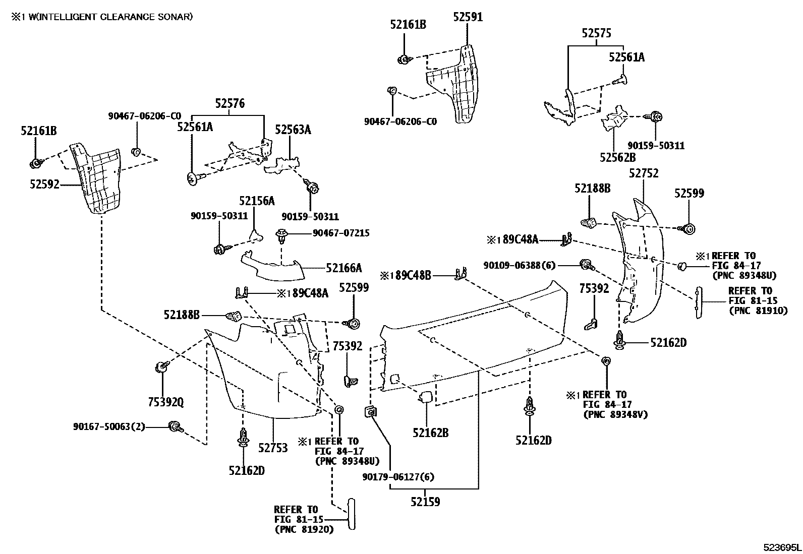
REAR BUMPER & BUMPER STAY

52156ASUPPORT, REAR BUMPER SIDE, LH
52159COVER, REAR BUMPER
NO PAINT REQ.
52161BPIECE, REAR BUMPER
52162BPLATE, REAR BUMPER, NO.1
52162DPIECE, REAR BUMPER
52166ACOVER, REAR BUMPER, UPR LH
NO PAINT REQ.
52188BSPACER, REAR BUMPER MOUNTING
52561ACLIP(FOR REAR BUMPER RETAINER)
52562BRETAINER, REAR BUMPER, UPPER RH
52563ARETAINER, REAR BUMPER, UPPER LH
52575RETAINER, REAR BUMPER SIDE, RH
52576RETAINER, REAR BUMPER SIDE, LH
52591SEAL, REAR BUMPER SIDE, RH
52592SEAL, REAR BUMPER SIDE, LH
52599STOPPER, REAR BUMPER, UPPER
52752MOULDING, REAR BUMPER SIDE, RH
NO PAINT REQ.
52753MOULDING, REAR BUMPER SIDE, LH
NO PAINT REQ.
75392RETAINER, OUTSIDE MOULDING
75392QRETAINER, OUTSIDE MOULDING, NO.2
8115
8417
89C48ARETAINER, ULTRASONIC SENSOR, REAR CORNER
DUMMY-MAT BLACK,RH
DUMMY-MAT BLACK,LH
89C48BRETAINER, ULTRASONIC SENSOR, REAR CENTER
DUMMY-MAT BLACK
9010906388
9015950311
9016750063
9017906127
9046706206C0
main90467-06206C0
9046707215
29 parts on this diagram · 2 diagrams in section