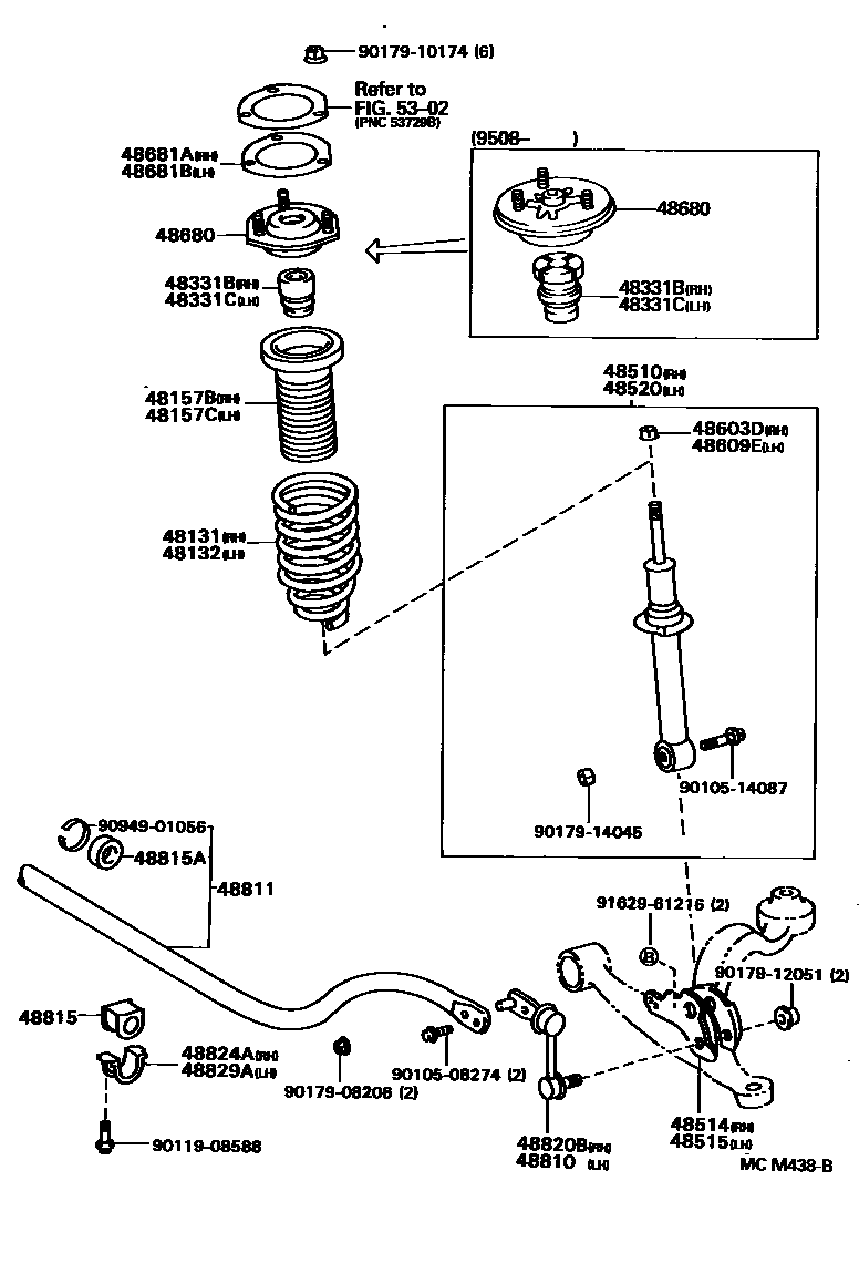
FRONT SPRING & SHOCK ABSORBER

48157BINSULATOR, FRONT COIL SPRING, UPPER RH
48157CINSULATOR, FRONT COIL SPRING, UPPER LH
48331BBUMPER, FRONT SPRING, RH
48331CBUMPER, FRONT SPRING, LH
48514BRACKET, FRONT SHOCK ABSORBER, LOWER RH
48515BRACKET, FRONT SHOCK ABSORBER, LOWER LH
48603DNUT(FOR FRONT SUPPORT TO FRONT SHOCK ABSORBER RH)
sub90177-12002
48609ENUT(FOR FRONT SUPPORT TO FRONT SHOCK ABSORBER LH)
sub90177-12002
48680SUPPORT ASSY, FRONT SUSPENSION
48681AGASKET, FRONT SUSPENSION SUPPORT, RH
48681BGASKET, FRONT SUSPENSION SUPPORT, LH
48815ABUSH, FRONT STABILIZER BAR, NO.2
48824ABRACKET, FRONT STABILIZER, NO.1 RH
48829ABRACKET, FRONT STABILIZER, NO.1 LH
5302
9010508274
main90105-08274
9010514087
main90105-14087
9011908588
main90119-08588
9017908206
main90179-08206
9017910174
main90179-10174
9017912051
main90179-12051
9017914045
main90179-14045
9094901056
main90949-01056
9162961216
main91629-61216
32 parts on this diagram · 1 diagram in section