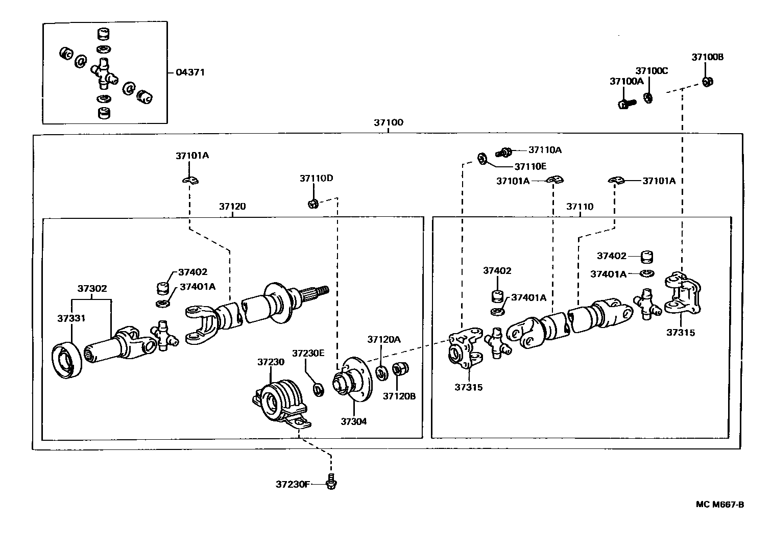
PROPELLER SHAFT & UNIVERSAL JOINT

04371SPIDER KIT, UNIVERSAL JOINT(FOR PROPELLER SHAFT)
sub04371-30040
37100SHAFT ASSY, PROPELLER W/CENTER BEARING
37100ABOLT, NO.1 (FOR PROPELLER SHAFT & DIFFERENTIAL SETTING)
37100BNUT, NO.1 (FOR PROPELLER SHAFT & DIFFERENTIAL SETTING)
37101APIECE, BALANCE, NO.1 (FOR PROPELLER SHAFT)
10G,L=20.7
20G,L=41.4
30G,L=62.2
2G,T=2.0
4G,T=2.0
6G,L=12.4
8G,L=16.6
12G,L=24.9
14G,L=29.0
16G,L=33.2
18G,L=37.3
22G,L=45.6
24G,L=49.7
26G,L=53.9
28G,L=58.1
3G
5G
7G,L=14.4
9G,L=18.5
3G,T=1.0,L=19.1
5G,T=1.0,L=31.8
7G,T=2.0
2G,T=1.0,L=12.7
4G,T=1.0,L=25.4
6G,T=2.0
8G,T=2.0
10G,T=2.0
12G,T=2.0
14G,T=2.0
16G,T=2.0
18G,T=2.0
20G,T=2.0,L=42.4
1G,T=1.0,L=6.4
22G,T=2.0,L=46.6
24G,T=2.0,L=50.8
37110ABOLT (FOR PROPELLER SHAFT)
*8-1.25PX25-12
*10-1.00PX27-13
*10-1.00PX29-15
37110DNUT (FOR PROPELLER SHAFT)
37120SHAFT ASSY, PROPELLER INTERMEDIATE
37120AWASHER, PLATE (FOR PROPELLER INTERMEDIATE SHAFT SET)
OD=33.5,T=4.0
37120BNUT (FOR PROPELLER INTERMEDIATE SHAFT SETTING)
37230BEARING ASSY, CENTER SUPPORT, NO.1
37230EWASHER, NO.1 (FOR CENTER SUPPORT BEARING)
37230FBOLT, NO.1 (FOR CENTER SUPPORT BEARING)
sub90119-10046
37302YOKE SUB-ASSY, UNIVERSAL JOINT SLEEVE
37315YOKE, UNIVERSAL JOINT FLANGE
37331COVER, SLIDING SHAFT DUST
37401ARING, HOLE SNAP (FOR SPIDER BEARING)
T=2.125,MARK 1
T=2.175,MARK 2
T=2.225,MARK 3
T=2.275,MARK 4
T=2.325,MARK 5
T=2.375,MARK 6
T=2.425,MARK 7
T=2.475,MARK 8
37402BEARING SUB-ASSY, UNIVERSAL JOINT SPIDER
22 parts on this diagram · 2 diagrams in section