E
EPC Data
Pricing
API Docs
Sign In
Home
›
GR
›
331250
›
FUEL PUMP & PIPE
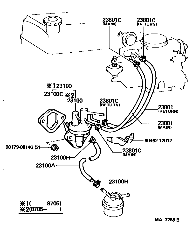
FUEL PUMP & PIPE
0001 1
0002 1
23100
PUMP ASSY, FUEL
main
23100-43021
i
5M..MS122
198705-198708
main
23100-49245
i
5M..MS122
198308-198705
sub
23100-43021
main
23100-79035
i
3Y..YS120
198308-198708
sub
23100-79036
23100A
HOSE, FUEL
main
90445-08236
i
5M..MS122
198308-198310
sub
90445-14122
main
90445-14122
i
5M..MS122
198310-198708
sub
95333-08040
main
95332-08040
i
3Y..YS120
198308-198701
*H,L=360
sub
95333-08040
main
95333-08036
i
3Y..YS120
198701-198702
sub
95333-08040
main
95333-08040
i
3Y..YS120
198702-198708
sub
95337-08040
23100C
INSULATOR, FUEL PUMP
main
90923-06001
i
3Y..YS120
198308-198708
sub
90923-06009
main
90923-06007
i
5M..MS122
198308-198708
sub
90923-06012
23100H
CLIP(FOR FUEL HOSE)
main
96132-30800
i
5M..MS122
198308-198708
sub
96132-51300
23801
PIPE OR HOSE SUB-ASSY, CARBURETOR FUEL, NO.1
main
23811-71010
i
3Y..YS120
198308-198404
sub
23811-71011
main
23811-71011
i
3Y..YS120
198404-198708
main
95332-06040
i
5M..MS122
198308-198610
L=400(*H,L=380),RETURN
sub
95333-06040
main
95332-08040
i
5M..MS122
198308-198610
L=400(*H,L=360),MAIN
sub
95333-08040
main
95333-06038
i
5M..MS122
198610-198702
L=400(*H,L=380),RETURN
sub
95333-06040
main
95333-06040
i
5M..MS122
198702-198708
L=400,RETURN
main
95333-08036
i
5M..MS122
198610-198702
L=400(*H,L=360),MAIN
sub
95333-08040
main
95333-08040
i
5M..MS122
198702-198708
L=400,MAIN
sub
95337-08040
23801C
CLIP(FOR CARBURETOR FUEL HOSE)
main
96132-30600
i
5M..MS122
198308-198708
RETURN
sub
96132-51100
main
96132-30800
i
5M..MS122
198308-198708
MAIN
sub
96132-51300
9017908146
main
90179-08146
9046212012
main
90462-12012
8 parts on this diagram · 2 diagrams in section
FUEL PUMP & PIPE — Toyota Parts Diagram with OEM Numbers & Prices | EPC Data