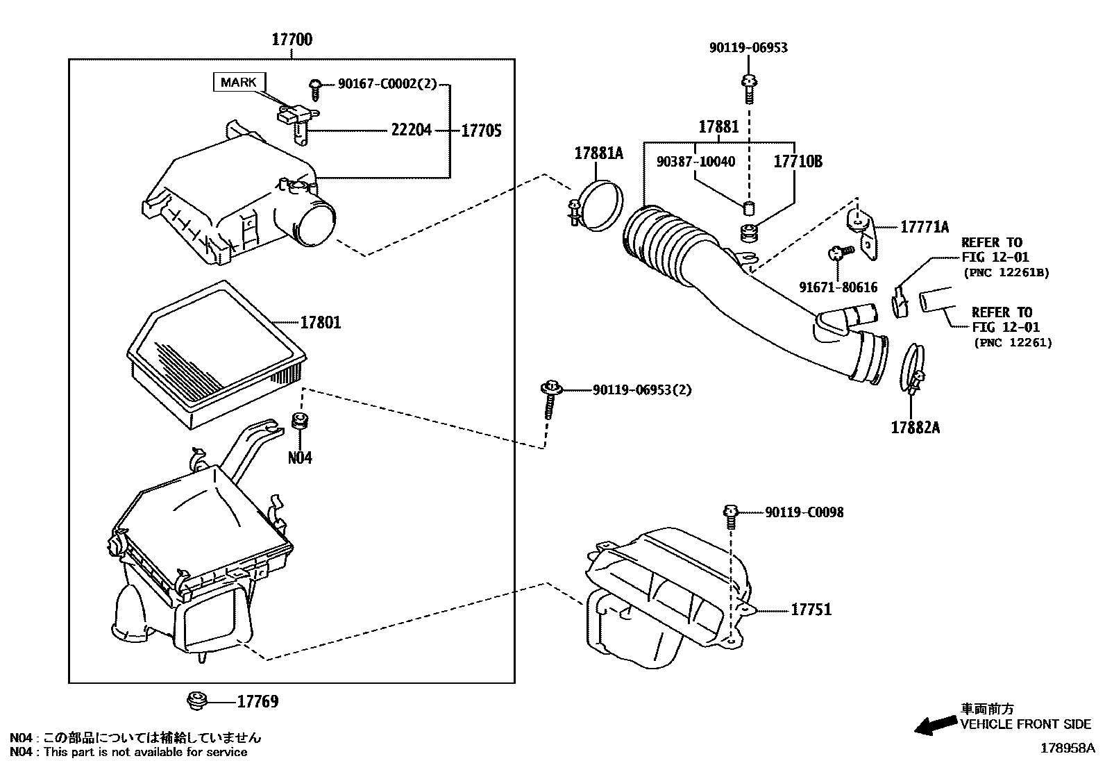
AIR CLEANER

1201
17700CLEANER ASSY, AIR
17705CAP SUB-ASSY, AIR CLEANER
17710BGROMMET
17751INLET, AIR CLEANER, NO.1
17769SUPPORT, AIR CLEANER
(L)
(J)
17771ABRACKET, AIR CLEANER
17801ELEMENT SUB-ASSY, AIR CLEANER FILTER
17881HOSE, AIR CLEANER, NO.1
17881ACLAMP(FOR AIR CLEANER HOSE, NO.1)
17882ACLAMP(FOR AIR CLEANER HOSE, NO.2)
22204METER SUB-ASSY, INTAKE AIR FLOW
MARK 22204-0T040
MARK 22204-0V020
MARK 22204-28010
9011906953
main90119-06953
90119C0098
main90119-C0098
90167C0002
main90167-C0002
9038710040
main90387-10040
9167180616
main91671-80616
17 parts on this diagram · 3 diagrams in section