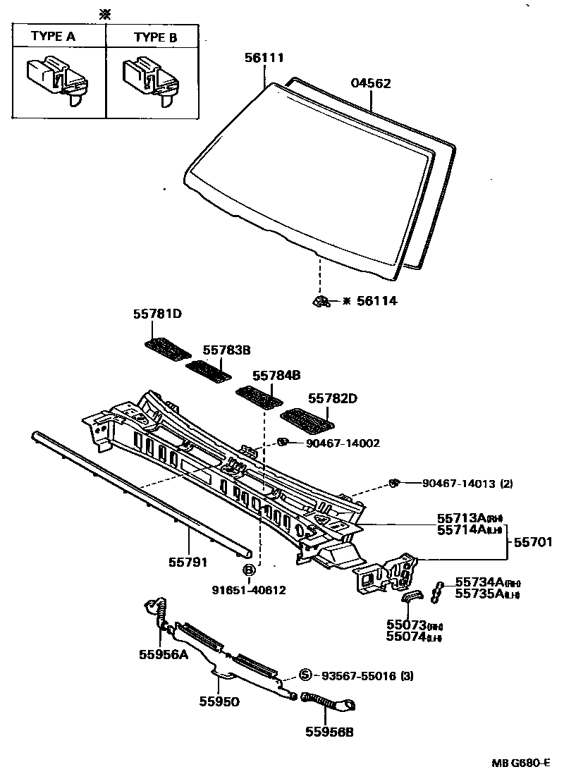
COWL PANEL & WINDSHIELD GLASS

04562DAM KIT, WINDSHIELD GLASS
55073NOZZLE SUB-ASSY, COWL PANEL WATER EXTRACT
55074COVER SUB-ASSY, COWL INNER HEATER AIR
55701PANEL SUB-ASSY, COWL
sub55700-22541
sub55700-22551
sub55700-22611
sub55700-22670
sub55700-22670
sub55700-22670
55713APANEL, COWL TOP SIDE, RH
55714APANEL, COWL TOP SIDE, LH
55734APLATE, WATER GUARD, RH
55735APLATE, WATER GUARD, LH
55791WEATHERSTRIP, HOOD TO COWL TOP
55956ADUCT, SIDE DEFROSTER NOZZLE, NO.1
55956BDUCT, SIDE DEFROSTER NOZZLE, NO.2
56111GLASS, WINDSHIELD
*TL,T=5.3,*TL,T=5.3
*TL,T=5.3,W/SUN SHADE,*TL,T=5.3
main56111-22490iMX73..(GD,GLX)..(EUR,GEN,ME);GX71,LX70,RX70..SED..(GL,GLX)..(EUR,GEN,ME)198408-198608
*TL,T=5.3,BRONZE,W/SUN SHADE,*TL,T=5.3,BRONZE
W/SUN SHADE,*TL,T=5.3,BRONZE
*TL,T=5.3,BRONZE,W/SUN SHADE,*TL,T=5.3,BRONZE
sub56111-22610
W/SUN SHADE,*LAM,T=5.3,BRONZE
56114RETAINER, WINDSHIELD GLASS
TYPE A
TYPE B
9046714002
main90467-14002
9046714013
main90467-14013
9165140612
main91651-40612
9356755016
main93567-55016
22 parts on this diagram · 1 diagram in section