E
EPC Data

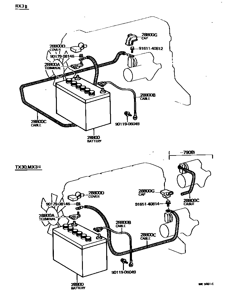
BATTERY & BATTERY CABLE

Parts diagram
28800BATTERY
main28800-26040i197612-198008
34B19L,NS40ZAL,GS
main28800-30131i197612-198008
55D26R,N50ZL,GS
main28800-31021i197612-198008
32C24L,N40L,KOBE
main28800-31031i197612-198008
32C24L,N40L,GS
28800ATERMINAL, BATTERY POSITIVE
main90982-05008i197612-198008
NS40ZAL
main90982-05009i197612-198008
N40L,N50ZL
28800BCABLE, BATTERY TO GROUND
main90982-02123i197612-198008
NS40ZAL
main90982-02124i197612-198008
N40L,N50ZL
28800CCABLE, BATTERY TO STARTER(FOR BATTERY TO MAIN SWITCH)
main82021-22170i197811-198008
NS40ZAL
main82021-22180i197811-198008
N40L,N50ZL
main90982-01208i197612-197811
NS40ZAL
main90982-01209i197612-198008
main90982-01210i197612-197811
N40L,N50ZL
28800DCOVER, CONNECTOR(FOR BATTERY TERMINAL)
main82821-12030i197612-198008
28800GCAP, TERMINAL(FOR STARTER)
main82823-14050i197908-198008
main82823-22010i197612-198008
9011906049
9017908146
9161140812
9165140814

10 parts on this diagram · 1 diagram in section

BATTERY & BATTERY CABLE — Toyota Parts Diagram with OEM Numbers & Prices | EPC Data