CRUISE CONTROL (AUTO DRIVE)

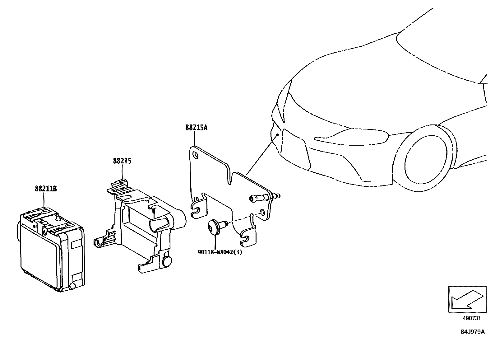
88211BSENSOR ASSY, MILLIMETER WAVE RADAR
CRUISE CONTROL-WITH(ALL-SPEED *ACC)
88215BRACKET, MILLIMETER WAVE RADAR SENSOR, NO.1
CRUISE CONTROL-WITH(ALL-SPEED *ACC)
88215ABRACKET, MILLIMETER WAVE RADAR SENSOR, NO.2
CRUISE CONTROL-WITH(ALL-SPEED *ACC)
90118WA042
main90118-WA042
4 parts on this diagram · 1 diagram in section