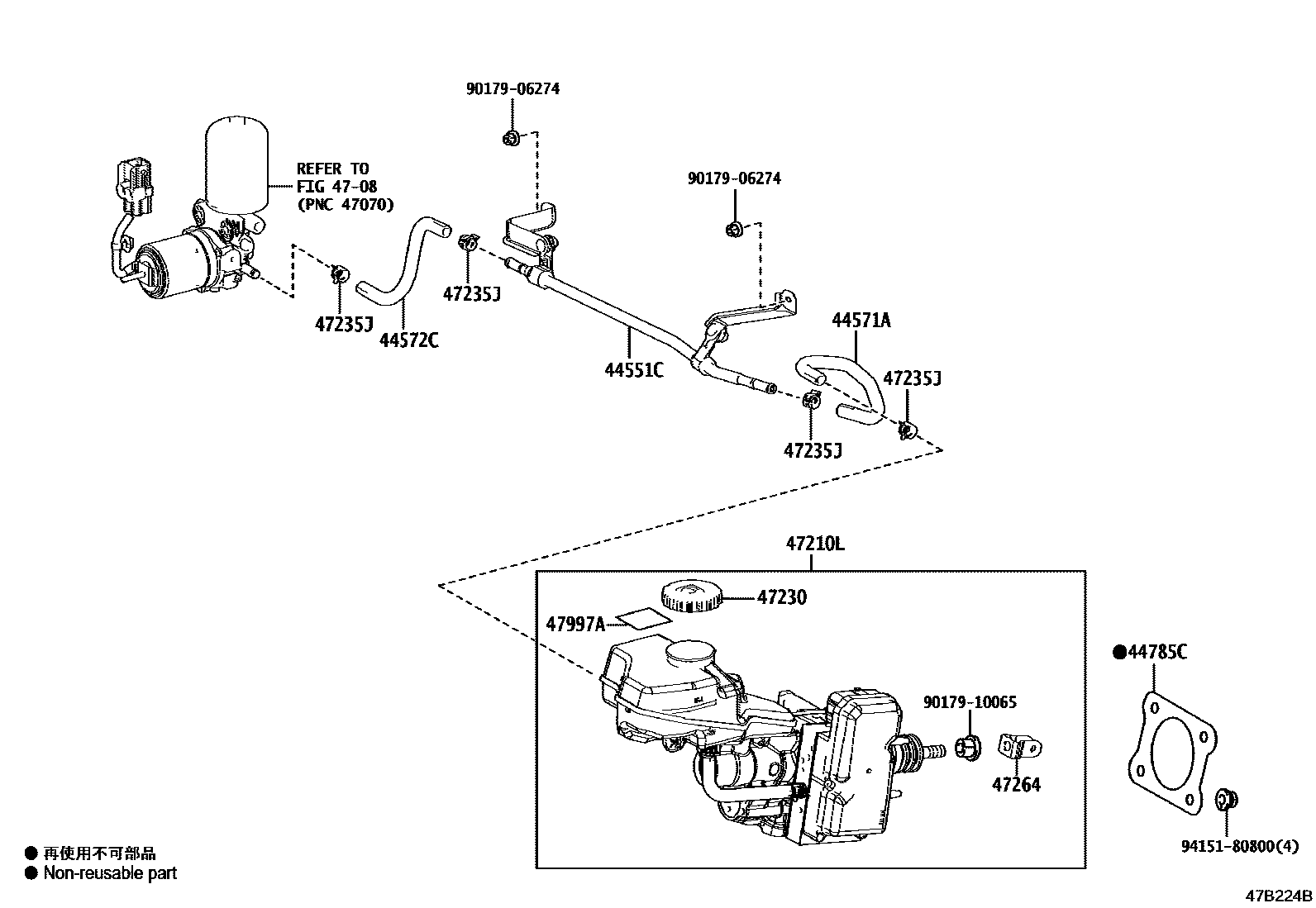
BRAKE MASTER CYLINDER

44551CTUBE, BRAKE ACTUATOR, NO.1
44571AHOSE, BRAKE ACTUATOR, NO.1
44572CHOSE, BRAKE ACTUATOR, NO.2
44785CGASKET, BRAKE BOOSTER
4708
47210LBRAKE BOOSTER ASSY, W/MASTER CYLINDER
CHILE SPEC
CHILE SPEC
ISRAEL SPEC
INDIA SPEC
ARGENTINA SPEC
INDIA SPEC
ARGENTINA SPEC
BEIJING SPEC
BEIJING SPEC
BEIJING SPEC
ISRAEL SPEC
47230CAP ASSY, BRAKE MASTER CYLINDER RESERVOIR FILLER
47235JCLIP(FOR RESERVOIR HOSE NO.2)
47264CLEVIS, MASTER CYLINDER PUSH ROD
47997ALABEL, ACCUMULATOR CAUTION, NO.1
9017906274
main90179-06274
9017910065
main90179-10065
9415180800
main94151-80800
13 parts on this diagram · 3 diagrams in section