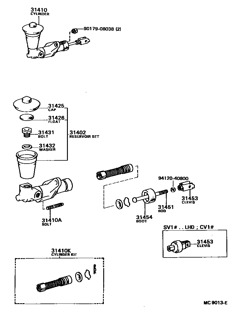
CLUTCH MASTER CYLINDER

31402RESERVOIR SUB-ASSY, CLUTCH MASTER CYLINDER
31410CYLINDER ASSY, CLUTCH MASTER
sub31410-32080
sub31410-32012
sub31410-32090
sub31410-32031
sub31410-32041
31410ABOLT(FOR CLUTCH MASTER CYLINDER SETTING)
31425CAP, CLUTCH MASTER CYLINDER RESERVOIR FILLER
31426FLOAT, CLUTCH MASTER CYLINDER RESERVOIR
31431BOLT, CLUTCH MASTER CYLINDER RESERVOIR SET
31432WASHER, CLUTCH RESERVOIR SET BOLT
31451ROD, CLUTCH MASTER CYLINDER PUSH
31454BOOT, CLUTCH MASTER CYLINDER
9017908038
main90179-08038
9412040800
main94120-40800
13 parts on this diagram · 1 diagram in section