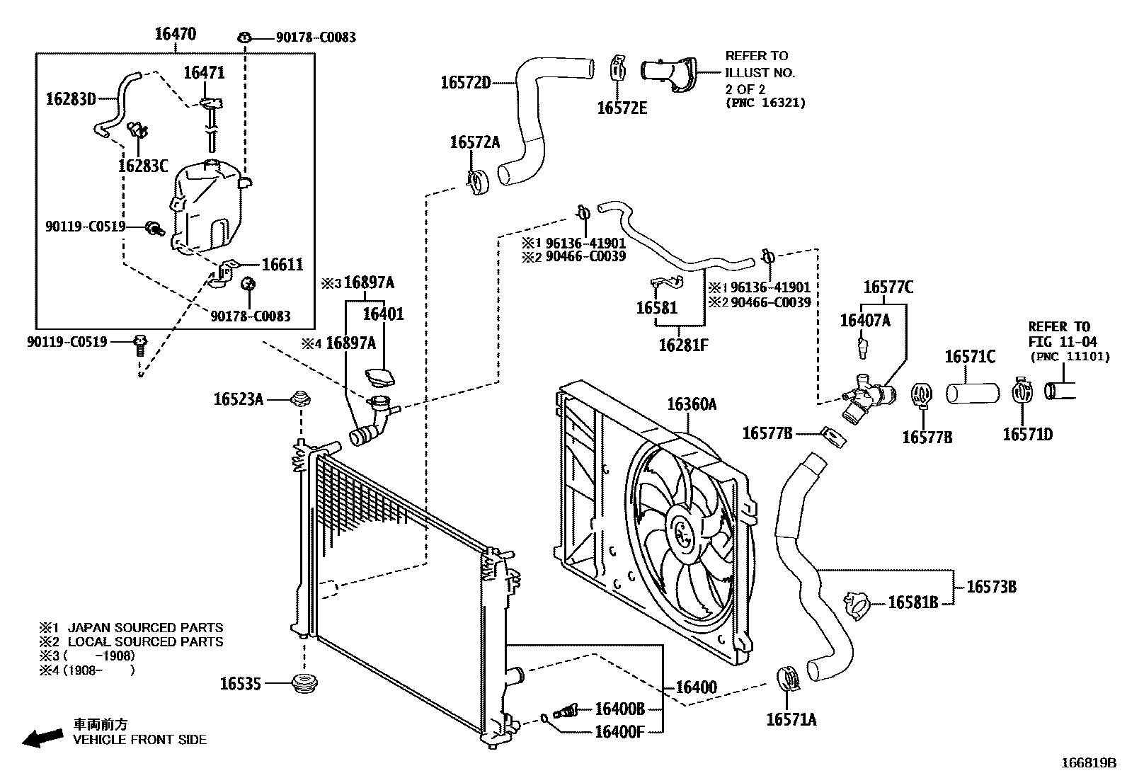
RADIATOR & WATER OUTLET

1104
16281HOSE, WATER BY-PASS, NO.4
ENGINE-UNLEADED GASOLINE(M20C)
*634
*636
16281FHOSE, WATER BY-PASS, NO.5
16283HOSE, WATER BY-PASS, NO.6
ENGINE-UNLEADED GASOLINE(M20C)
*634,*636
*636
*634
16283CCLAMP OR CLIP(FOR WATER BY-PASS HOSE)
16283DHOSE, WATER BY-PASS, NO.6
16360AFAN ASSY, W/MOTOR
16400RADIATOR ASSY
16400BPLUG, RADIATOR DRAIN COCK
16400FPACKING(FOR RADIATOR DRAIN COCK)
16401CAP SUB-ASSY, RADIATOR
(J)
(L)
16407ACOCK SUB-ASSY, RADIATOR DRAIN
16470TANK ASSY, RADIATOR RESERVE
16471CAP SUB-ASSY, RESERVE TANK
16523ACUSHION, RADIATOR SUPPORT
16535SUPPORT, RADIATOR, LOWER
(J)
(L)
16571ACLAMP OR CLIP, HOSE(FOR RADIATOR INLET)
16571CHOSE, RADIATOR, NO.1
EXHAUST EMISSION CONTROL-CHINA 6
16571DCLIP, RADIATOR HOSE, NO.1
(J)
(L)
16572ACLAMP OR CLIP, HOSE(FOR RADIATOR OUTLET NO.1)
16572DHOSE, RADIATOR, NO.2
16572ECLIP, RADIATOR HOSE, NO.2
(J)
(L)
16573BHOSE, RADIATOR, NO.3
EXHAUST EMISSION CONTROL-CHINA 6
16577BCLAMP OR CLIP, HOSE(FOR RADIATOR PIPE)
EXHAUST EMISSION CONTROL-CHINA 6
EXHAUST EMISSION CONTROL-CHINA 6
16577CPIPE, RADIATOR
EXHAUST EMISSION CONTROL-CHINA 6
16581CLAMP, HOSE(FOR WATER HOSE)
16581BCLAMP, HOSE(FOR RADIATOR HOSE)
NO.1:REFER ILLUST.
EXHAUST EMISSION CONTROL-CHINA 6
NO.2:REFER ILLUST.
NO.2:REFER ILLUST.
16611BRACKET, RADIATOR RESERVE TANK
90119C0519
main90119-C0519
90178C0083
main90178-C0083
90466C0039
main90466-C0039
9613641901
main96136-41901
33 parts on this diagram · 12 diagrams in section