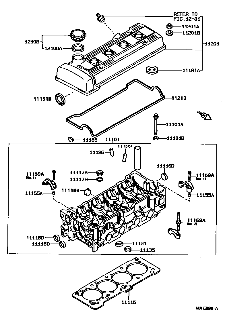
CYLINDER HEAD

11101HEAD SUB-ASSY, CYLINDER
11101ABOLT(FOR CYLINDER HEAD SET)
*11-1.25PX123-53
*11-1.25PX145-53
11101BWASHER, PLATE(FOR CYLINDER HEAD SET)
11115GASKET, CYLINDER HEAD
11116BPLUG, TIGHT, NO.2
11116DPLUG, TIGHT, NO.4
11117BPLUG, W/HEAD TAPER SCREW, NO.2
11117HGASKET(FOR WATER HOLE)
PNC 11118A
PNC 11118C
PNC 11118B
11122BUSH, INTAKE VALVE GUIDE
STD
STD
STD
O/S 0.05
O/S 0.05
O/S 0.05
11126BUSH, EXHAUST VALVE GUIDE
STD
O/S 0.05
O/S 0.05
STD
O/S 0.05
11131SEAT, INTAKE VALVE
STD
STD
O/S 0.03
O/S 0.03
11135SEAT, EXHAUST VALVE
STD
STD
O/S 0.03
O/S 0.03
11151BSEAL, OIL(FOR CAMSHAFT SETTING)
NOK
11155APIN, RING W/HEAD
11159ABOLT(FOR HEAD TO CAMSHAFT BEARING CAP)
NO.1
NO.2
11183PLUG, SEMICIRCULAR
11191TUBE, SPARK PLUG
11191AGASKET(FOR SPARK PLUG TUBE)
11201COVER SUB-ASSY, CYLINDER HEAD
11201ANUT, CAP(FOR CYLINDER HEAD COVER)
11201BWASHER, SEAL(FOR CYLINDER HEAD COVER)
11213GASKET, CYLINDER HEAD COVER
1201
12108CAP SUB-ASSY, OIL FILLER
12108AGASKET(FOR OIL FILLER CAP)
25 parts on this diagram · 4 diagrams in section