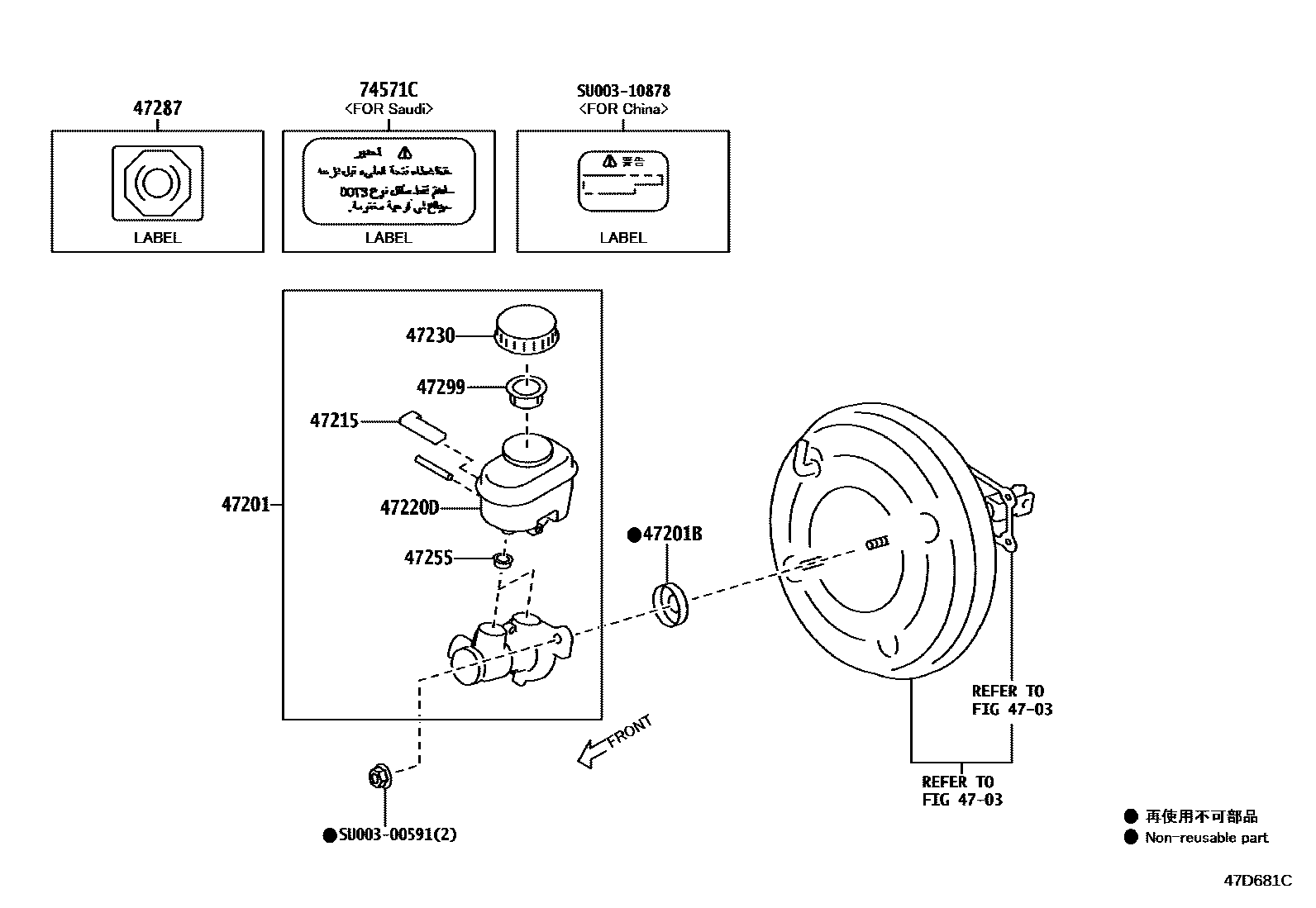
BRAKE MASTER CYLINDER

4703
47201CYLINDER SUB-ASSY, BRAKE MASTER
47201BRING, O(FOR BRAKE MASTER CYLINDER)
subSU003-12052
47215INDICATOR, BRAKE FLUID
47220DRESERVOIR ASSY, BRAKE MASTER CYLINDER
47230CAP ASSY, BRAKE MASTER CYLINDER RESERVOIR FILLER
47255GROMMET, MASTER CYLINDER RESERVOIR
47287LABEL, BRAKE FLUID INFORMATION
47299STRAINER, BRAKE MASTER CYLINDER RESERVOIR
74571CLABEL, BRAKE FLUID INFORMATION
SU00300591
mainSU003-00591
SU00310878
mainSU003-10878
12 parts on this diagram · 2 diagrams in section