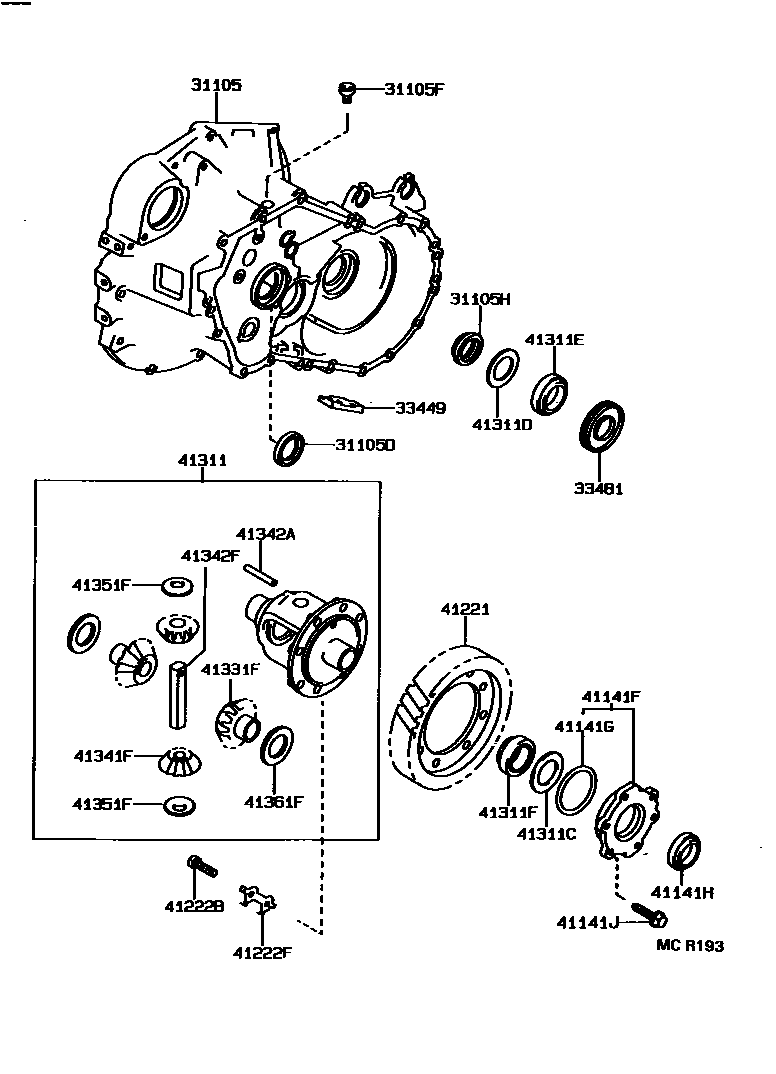
FRONT AXLE HOUSING & DIFFERENTIAL

31105CASE SUB-ASSY, TRANSAXLE(MTM)
31105DSEAL, OIL, NO.1(FOR FRONT TRANSAXLE CASE)
sub90311-30017
31105FPLUG(FOR TRANSAXLE CASE)
31105HSEAL, OIL, NO.2(FOR TRANSAXLE CASE)
33481GEAR, SPEEDOMETER DRIVE (MTM)
N=35
41141FRETAINER, FRONT DIFFERENTIAL SIDE BEARING
41141GRING, O(FOR FRONT DIFFERENTIAL SIDE BEARING RETAINER)
41141HSEAL, OIL(FOR DIFFERENTIAL SIDE BEARING RETAINER)
41141JBOLT(FOR FRONT DIFFERENTIAL SIDE BEARING RETAINER)
41221GEAR, FRONT DIFFERENTIAL RING
41222BBOLT (FOR FRONT DIFFERENTIAL RING GEAR SET)
41222FPLATE, FORNT DIFFERENTIAL RING GEAR SET BOLT LOCK
41311CASE, FRONT DIFFERENTIAL
41311CSHIM (FOR FRONT DIFFERENTIAL CASE REAR)
T=1.90,MARK 01
T=1.95,MARK 02
T=2.00,MARK 03
T=2.05,MARK 04
T=2.10,MARK 05
T=2.15,MARK 06
T=2.20,MARK 07
T=2.25,MARK 08
T=2.30,MARK 09
T=2.35,MARK 10
T=2.40,MARK 11
T=2.45,MARK 12
T=2.50,MARK 13
T=2.55,MARK 14
T=2.60,MARK 15
T=2.65,MARK 16
T=2.70,MARK 17
T=2.75,MARK 18
T=2.80,MARK 19
T=2.00,MARK 0
T=2.05,MARK 1
T=2.10,MARK 2
T=2.15,MARK 3
T=2.20,MARK 4
T=2.25,MARK 5
T=2.30,MARK 6
T=2.35,MARK 7
T=2.40,MARK 8
T=2.45,MARK 9
T=2.50,MARK A
T=2.55,MARK B
T=2.60,MARK C
T=2.65,MARK D
T=2.70,MARK E
T=2.75,MARK F
T=2.80,MARK G
T=2.85,MARK H
41311DSHIM (FOR FRONT DIFFERENTIAL CASE FRONT)
T=2.40,MARK 11
T=1.90,MARK 01
T=1.95,MARK 02
T=2.00,MARK 03
T=2.05,MARK 04
T=2.10,MARK 05
T=2.15,MARK 06
T=2.20,MARK 07
T=2.25,MARK 08
T=2.30,MARK 09
T=2.35,MARK 10
T=2.40,MARK 11
T=2.45,MARK 12
T=2.50,MARK 13
T=2.55,MARK 14
T=2.60,MARK 15
T=2.65,MARK 16
T=2.70,MARK 17
T=2.75,MARK 18
T=2.80,MARK 19
41311EBEARING, TAPERED ROLLER (FOR FRONT DIFFERENTIAL CASE FRONT)
41311FBEARING, TAPERED ROLLER (FOR FRONT DIFFERENTIAL CASE REAR)
41331FGEAR, FRONT DIFFERENTIAL SIDE
41342APIN, STRAIGHT (FOR FRONT DIFFERENTIAL PINION SHAFT)
41351FWASHER, FRONT DIFFERENTIAL PINION THRUST
41361FWASHER, FRONT DIFFERENTIAL SIDE GEAR THRUST, NO.1
T=1.00,MARK B
T=1.05,MARK C
T=1.10,MARK D
T=1.15,MARK E
T=1.20,MARK F
T=1.25,MARK G
T=0.95
T=1.00
T=1.05
T=1.10
T=1.15
T=1.20
T=1.00,MARK 02
T=1.10,MARK 03
T=1.20,MARK 04
T=0.95,MARK 14
T=1.05,MARK 15
T=1.15,MARK 16
24 parts on this diagram · 4 diagrams in section