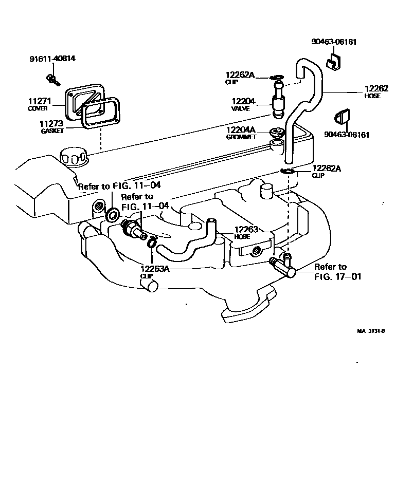
VENTILATION HOSE

1104
11271COVER, CYLINDER BLOCK SIDE
11273GASKET, CYLINDER BLOCK SIDE COVER
12204AGROMMET(FOR VENTILATION SYSTEM)
12262ACLIP(FOR VENTILATION HOSE NO.2)
12263ACLIP(FOR VENTILATION HOSE)
1701
9046306161
main90463-06161
9161140814
main91611-40814
12 parts on this diagram · 4 diagrams in section