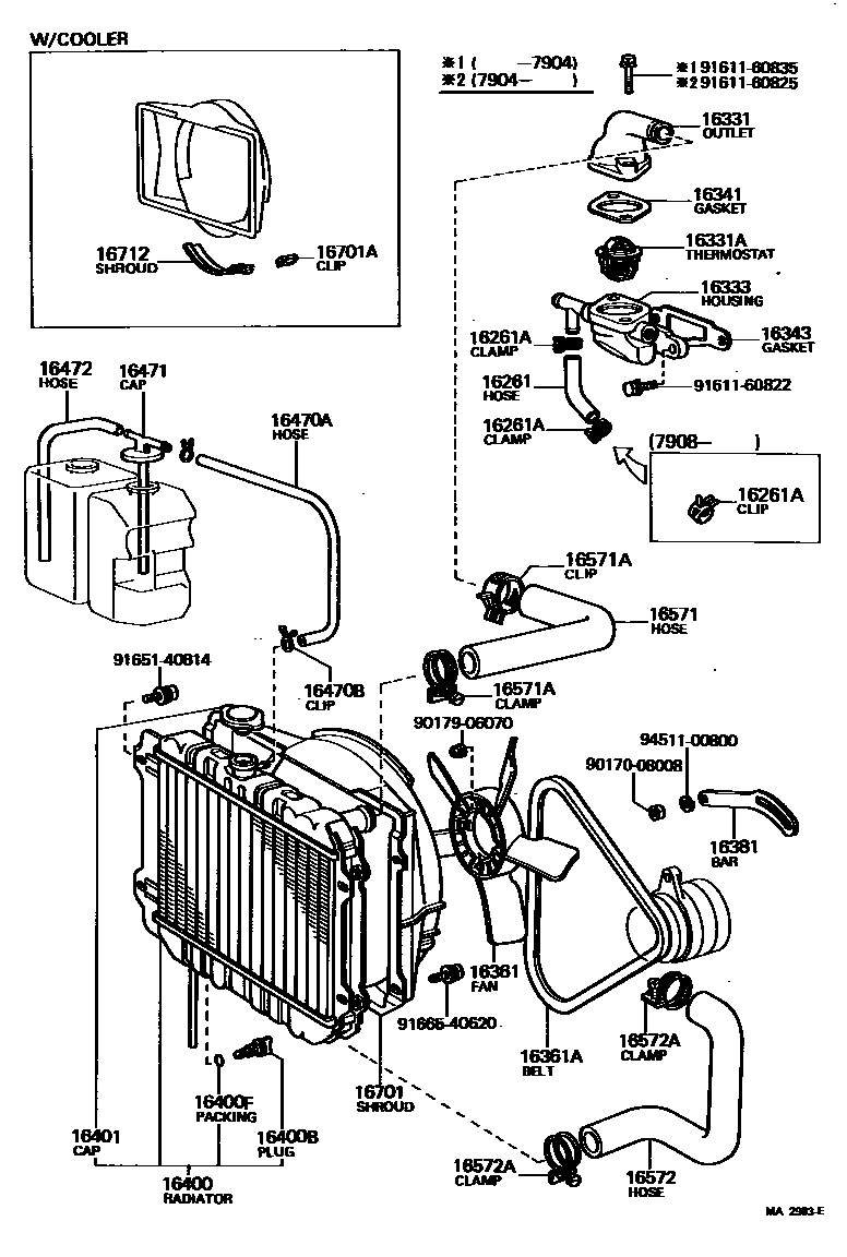
RADIATOR & WATER OUTLET

16261HOSE, WATER BY-PASS
16331OUTLET, WATER
16331ATHERMOSTAT
*WAX 88-100,FUJI-THOMSON
16361FAN
5 BLADES
16361ABELT, V(FOR FAN & ALTERNATOR)
L=885
L=885
L=885
16381BAR, FAN BELT ADJUSTING
16400RADIATOR ASSY
MIDDLE EAST SPEC
16400BPLUG, RADIATOR DRAIN COCK
16400FPACKING(FOR RADIATOR DRAIN COCK)
sub96711-19007
16401CAP SUB-ASSY, RADIATOR
16470AHOSE OR PIPE(FOR RADIATOR RESERVE TANK)
16470BCLAMP OR CLIP(FOR RADIATOR RESERVE TANK HOSE)
16471CAP SUB-ASSY, RESERVE TANK
16472HOSE, BREATHER
16571HOSE, RADIATOR, INLET
16571ACLAMP OR CLIP, HOSE(FOR RADIATOR INLET)
RADIATOR SIDE
16572HOSE, RADIATOR, OUTLET
16572ACLAMP OR CLIP, HOSE(FOR RADIATOR OUTLET NO.1)
RADIATOR OUTLET SIDE
RADIATOR OUTLET SIDE
16701SHROUD SUB-ASSY, FAN
MIDDLE EAST SPEC
16701ACLIP(FOR FAN SHROUD)
W/COOLER
16712SHROUD, FAN, NO.2
W/COOLER
W/COOLER
9017008008
main90170-08008
9017906070
main90179-06070
9161160822
main91611-60822
9161160825
main91611-60825
9161160835
main91611-60835
9165140814
main91651-40814
9166540620
main91665-40620
9451100800
main94511-00800
33 parts on this diagram · 2 diagrams in section