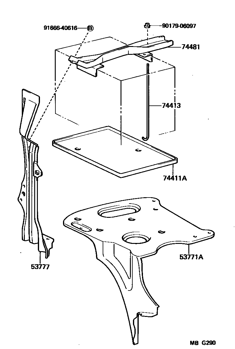
BATTERY CARRIER

53771ASUPPORT, BATTERY CARRIER
53777SUPPORT, BATTERY CARRIER, NO.2
74413BOLT, BATTERY CLAMP
74481CLAMP, BATTERY HOLD DOWN
W/N40L
COLD SPEC OR W(BATTERY=50D20L)
9017906097
main90179-06097
9166640616
main91666-40616
7 parts on this diagram · 1 diagram in section