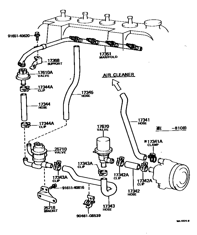
MANIFOLD AIR INJECTION SYSTEM

17341HOSE, NO.1(FOR AIR INJECTION SYSTEM)
17341ACLAMP OR CLIP, NO.1(FOR AIR INJECTION SYSTEM HOSE, NO.1)
17342HOSE, NO.2(FOR AIR INJECTION SYSTEM)
17342ACLAMP OR CLIP, NO.2(FOR AIR INJECTION SYSTEM HOSE, NO.2)
sub96134-52600
17343HOSE, NO.3(FOR AIR INJECTION SYSTEM)
17343ACLAMP OR CLIP, NO.3(FOR AIR INJECTION SYSTEM HOSE, NO.3)
sub96134-52600
17344HOSE, NO.4(FOR AIR INJECTION SYSTEM)
17344ACLAMP OR CLIP, NO.4(FOR AIR INJECTION SYSTEM HOSE, NO.4)
sub96134-52100
17345HOSE, NO.5(FOR AIR INJECTION SYSTEM)
17351MANIFOLD, AIR INJECTION
17610AVALVE, CHECK(FOR AIR INJECTION SYSTEM)
17670VALVE ASSY, AIR BY-PASS
25710VALVE ASSY, AIR SWITCHING
25716BRACKET, AIR SWITCHING VALVE
9046108539
main90461-08539
9161140816
main91611-40816
9165140620
main91651-40620
18 parts on this diagram · 1 diagram in section