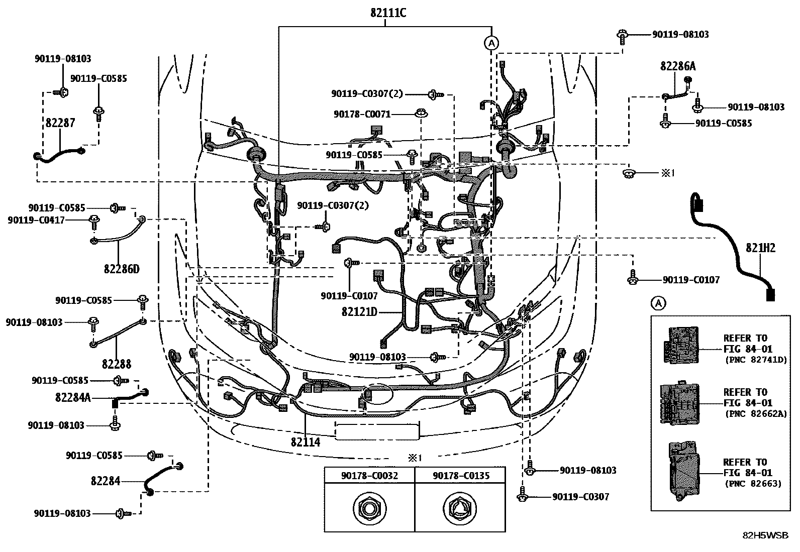
WIRING & CLAMP

82111CWIRE, FRONT COMPARTMENT, MAIN
82121DWIRE, MOTOR
821H2WIRE, HV AIR CONDITIONER
82284WIRE, EARTH
82284AWIRE, EARTH NO.2
82286AWIRE, EARTH, NO.2
82286DWIRE, EARTH, NO.5
82287WIRE, EARTH, NO.3
82288WIRE, EARTH NO.4
8401
9011908103
90119C0107
main90119-C0107
90119C0307
main90119-C0307
90119C0417
main90119-C0417
90119C0585
main90119-C0585
90178C0032
main90178-C0032
90178C0071
main90178-C0071
90178C0135
main90178-C0135
19 parts on this diagram · 7 diagrams in section