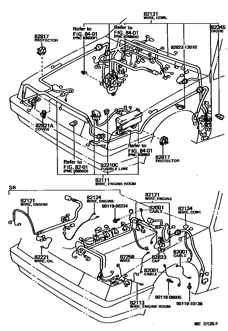
WIRING & CLAMP

82001CABLE, BOND, NO.1
MISSION-MEMBER,L=220
ENGINE-COWL
MISSION-MEMBER,L=260
ENGINE-COWL
CLACH-FLOOR
ENGINE-COWL
ENGINE-COWL
8201
82111WIRE, ENGINE ROOM MAIN
*FRG
sub82111-12841
sub82111-12881
sub82111-12891
sub82111-1A011
sub82111-1A031
sub82111-1A051
W/DIM DIP LIGHT SYSTEM
82113WIRE, ENGINE ROOM, NO.3
82124WIRE, ENGINE, NO.4
82210CFUSIBLE LINK
30A,TERM.:FEMALE,PNK,30A
30A,TERM.:FEMALE,PNK,30A,RTR
60A,TERM.:FEMALE,YEL,60A
80A,TERM.:MALE,BLK,80A
30A,TERM.:MALE,PNK,30A,AM2
82221WIRE, OIL PRESSURE SWITCH
82259WIRE, DISTRIBUTOR
82345DIODE
2 POLE CONNECTOR
2 POLE CONNECTOR
4 POLE CONNECTOR
82817PROTECTOR, WIRING HARNESS, NO.1
82821ACOVER, CONNECTOR
82823CAP, TERMINAL, NO.1
8401
8282212010BRACKET,CONNECTOR BLOCK
main82822-12010
9011906005
main90119-06005
9011906234
main90119-06234
9011910138
main90119-10138
20 parts on this diagram · 5 diagrams in section